Service Procedure
SERVICE PROCEDUREOverview
Confirm This Bulletin Applies
1. With CONSULT-II "ON", print the Freeze Frame data as follows:
[START (Nissan)] >> [ENGINE] >> [Self-DIAG Results] >> [F.F. data] >> [PRINT]
2. Attach this printout to the Repair Order.
^ The Freeze Frame data that you've printed contains the ECM Part Number (P/N).
^ Figure 1 is an example of the F.F. Data printout.
ECM Part Number Check
3. Using the ECM Part Number printout from Step 1 (Figure 1):
^ Compare the vehicle's current ECM P/N to those shown under Current ECM P/N in Chart A.
^ This comparison will allow you to determine if the ECM needs to be reprogrammed.
CHART A
a. If your vehicle's ECM P/N matches a P/N in the chart above:
^ Perform ECM Reprogramming.
b. If your vehicle's ECM P/N does not match a P/N in the chart above:
^ ECM Reprogramming is not necessary - this bulletin does not apply. Refer to the appropriate ESM for further diagnostic and repair information.
ECM REPROGRAMMING
Vehicle ECM Reprogramming Overview
There are six basic steps:
1. Download reprogramming data (transfer it) from ASIST into CONSULT-II.
2. "Preparation" steps before reprogramming.
3. Reprogram the vehicle ECM.
4. Erase any DTC's that stored during reprogramming.
5. Check for DTC P1138 reset.
6. "Wrap-up".
Step One: Download (Transfer) Data From ASIST Into CONSULT-II
1. Select vehicle model and model year (Example: Maxima, 2004).
2. Select the correct reprogramming data:
a. Locate the specific "Model Configuration" (Example: VQ35 5A/T ASCD TCS).
NOTE:
Model Configuration may include items such as engine type, transmission type, and vehicle options such as ASCD, TCS, ABS etc.
b Select (click on) the "To" number. (Write the "To" number on the repair order.)
NOTE:
The "To" number will read: 23710-XXXXX.
3. Click on the "Add" button.
^ This will add the selected data to the "File(s) Selected list.
4. Click on "Continue" and follow directions to perform "data transfer" (download) from ASIST into CONSULT-II.
Step Two: Preparation for Reprogramming ECM
1. Connect a battery charger to the vehicle's battery.
^ Set the charger to a low charger rate (trickle charge).
CAUTION:
DO NOT connect the CONSULT-II AC power supply for items 2 and 3.
2. Press [SUB MODE] (see Figure B) then:
a. From the listed items, find and select [BATTERY CHARGE].
3. Check the CONSULT-II's "Charger Input" reading (see Figure C).
NOTE:
^ "Battery Voltage" is the voltage level of CONSULT-II's battery.
^ "Charger Input" is the voltage level of the vehicle's battery. (It must be above 12 volts.)
Step Three: Reprogram the Vehicle ECM
Step Four: Erase DTC's
^ Use CONSULT-II and the Diagnostic (red/white) Card to check and erase any DTC's that may have stored during the reprogramming procedure.
Step Five: Perform P1138 DTC Confirmation Procedure
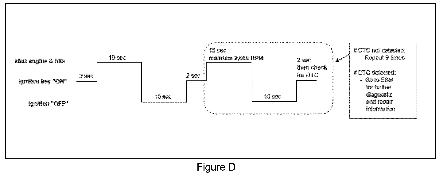
1. Turn the ignition switch "ON" and wait at least 2 seconds. (See Figure D.)
2. Select "Data Monitor mode with CONSULT-II.
3. Confirm that engine coolant temperature is more than 50°C (122°F).
4. Start the engine and let it idle for at least 10 seconds.
5. Turn the ignition switch "OFF" and wait at least 10 seconds.
6. Turn the ignition switch "ON" and wait at least 2 seconds.
7. Start the engine and set engine speed to 2,000 RPM as soon as possible, then hold for at least 10 seconds.
8. Turn the ignition switch "OFF, wait at least 10 seconds, and then turn the ignition switch "ON.
^ If DTC P1138 is detected again, refer to the appropriate ESM for further diagnostic and repair information.
^ If DTC P1138 is not detected, proceed to the next step.
9. Perform steps 6 through 8 nine times.
Step Six: "Wrap Up"
1. Start the engine and check the idle speed.
^ If idle speed is too low, perform IAVL (Idle Air Volume Learning). See the appropriate ESM for this procedure.
NOTE:
If the engine will not idle, hold the engine RPM at about 2000, then slowly bring it down to an idle. IAVL can now be performed.
2. Confirm the engine is operating normally.
3. Make sure the "Check Engine Light" (MIL) is not "ON".