Operation CHARM: Car repair manuals for everyone.
Manuals through 2025 now available!

Our trusted friends have launched a new website named LEMON, which has newer manuals. It also contains all the CHARM manuals.

LEMON is the spiritual successor to CHARM, I recommend you try it!

Link: lemon-manuals.la or lemon-manuals.org.ua

(Some people have issue connecting. LEMON is investigating. For now, use Firefox or change your DNS server)

Or, hide this message: temporarily or permanently

Crankshaft, Engine

CRANKSHAFT END PLAY





^ Measure the clearance between thrust bearings and crankshaft arm when crankshaft is moved fully forward or backward with a dial indicator (A).
Standard: 0.10 - 0.26 mm (0.0039 - 0.0102 in)
Limit: 0.30 mm (0.012 in)
^ If the measured value exceeds the limit, replace thrust bearings, and measure again. If it still exceeds the limit, replace crankshaft also.

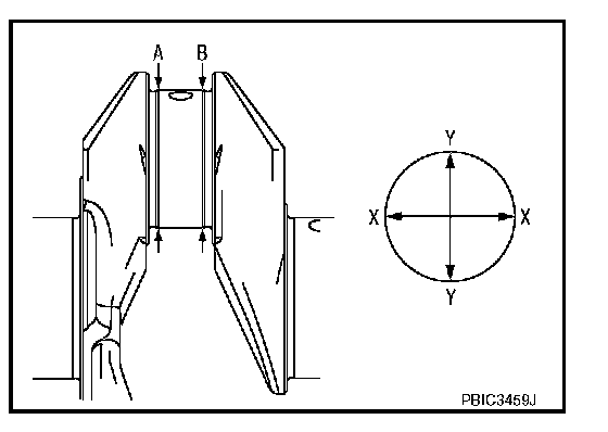
OUT-OF-ROUND AND TAPER OF CRANKSHAFT





^ Measure the dimensions at four different points as shown on each main journal and pin journal with a micrometer.
^ Out-of-round is indicated by the difference in dimensions between "X" and "Y" at "A" and "B".
^ Taper is indicated by the difference in dimension between "A" and "B" at "X" and "Y".
Limit:
Out-of-round (Difference between "X" and "Y"): 0.0035 mm (0.0001 in)
Taper (Difference between "A" and "B"): 0.0035 mm (0.0001 in)
^ If the measured value exceeds the limit, correct or replace crankshaft.
^ If corrected, measure the bearing oil clearance of the corrected main journal and/or pin journal. Then select main bearing and/or connecting rod bearing.

CRANKSHAFT RUNOUT





^ Place a V-block on a precise flat table to support the journals on the both end of the crankshaft.
^ Place a dial indicator (A) straight up on the No. 3 journal.
^ While rotating crankshaft, read the movement of the pointer on the dial indicator. (Total indicator reading)
Standard: 0.05 mm (0.0020 in)
Limit: 0.10 mm (0.0040 in)
^ If it exceeds the limit, replace crankshaft.





CYLINDER BLOCK

Part 1:




Part 2:





CRANKSHAFT