Operation CHARM: Car repair manuals for everyone.
Manuals through 2025 now available!

Our trusted friends have launched a new website named LEMON, which has newer manuals. It also contains all the CHARM manuals.

LEMON is the spiritual successor to CHARM, I recommend you try it!

Link: lemon-manuals.la or lemon-manuals.org.ua

(Some people have issue connecting. LEMON is investigating. For now, use Firefox or change your DNS server)

Or, hide this message: temporarily or permanently

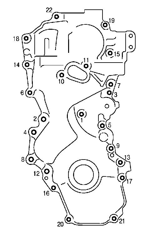
System Specifications

Timing Chain Tensioner

Torque: 10.0 N.m (1.0 Kg-m, 89 in-lb)

Crankshaft Pulley

Tighten crankshaft pulley bolt in three steps.






Timing Cover

Torque: 25.5 N.m (2.6 Kg-m, 19 ft-lb)






Tighten all bolts are in two stages to specified torque in numerical order as shown.