Operation CHARM: Car repair manuals for everyone.
Manuals through 2025 now available!

Our trusted friends have launched a new website named LEMON, which has newer manuals. It also contains all the CHARM manuals.

LEMON is the spiritual successor to CHARM, I recommend you try it!

Link: lemon-manuals.la or lemon-manuals.org.ua

(Some people have issue connecting. LEMON is investigating. For now, use Firefox or change your DNS server)

Or, hide this message: temporarily or permanently

Trunk / Liftgate Weatherstrip: Service and Repair




BACK DOOR

BACK DOOR WEATHER-STRIP : Removal and Installation


REMOVAL

Pull and remove engagement with body from weather-strip joint.

CAUTION:
Never pull strongly on weather-strip.

INSTALLATION

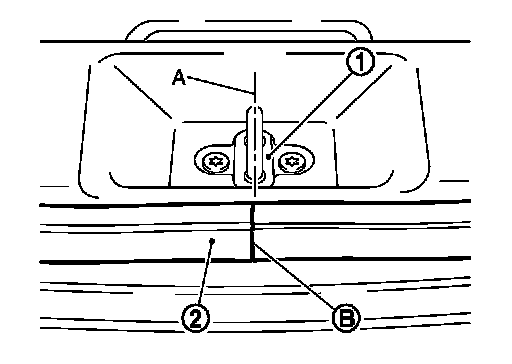
1.Working from the upper section, align weather-strip center mark (A) with vehicle center mark (cutting position) and install weather-strip onto the vehicle.










2.Align the connecting point (B) of weather-strip (2) to the center (A) of striker (1), and then install as shown in the figure.
3.Pull weather-strip gently to ensure that there is no loose section.
NOTE:
Check that weather-strip fits tightly in each corner and luggage rear plate.