Operation CHARM: Car repair manuals for everyone.
Manuals through 2025 now available!

Our trusted friends have launched a new website named LEMON, which has newer manuals. It also contains all the CHARM manuals.

LEMON is the spiritual successor to CHARM, I recommend you try it!

Link: lemon-manuals.la or lemon-manuals.org.ua

(Some people have issue connecting. LEMON is investigating. For now, use Firefox or change your DNS server)

Or, hide this message: temporarily or permanently

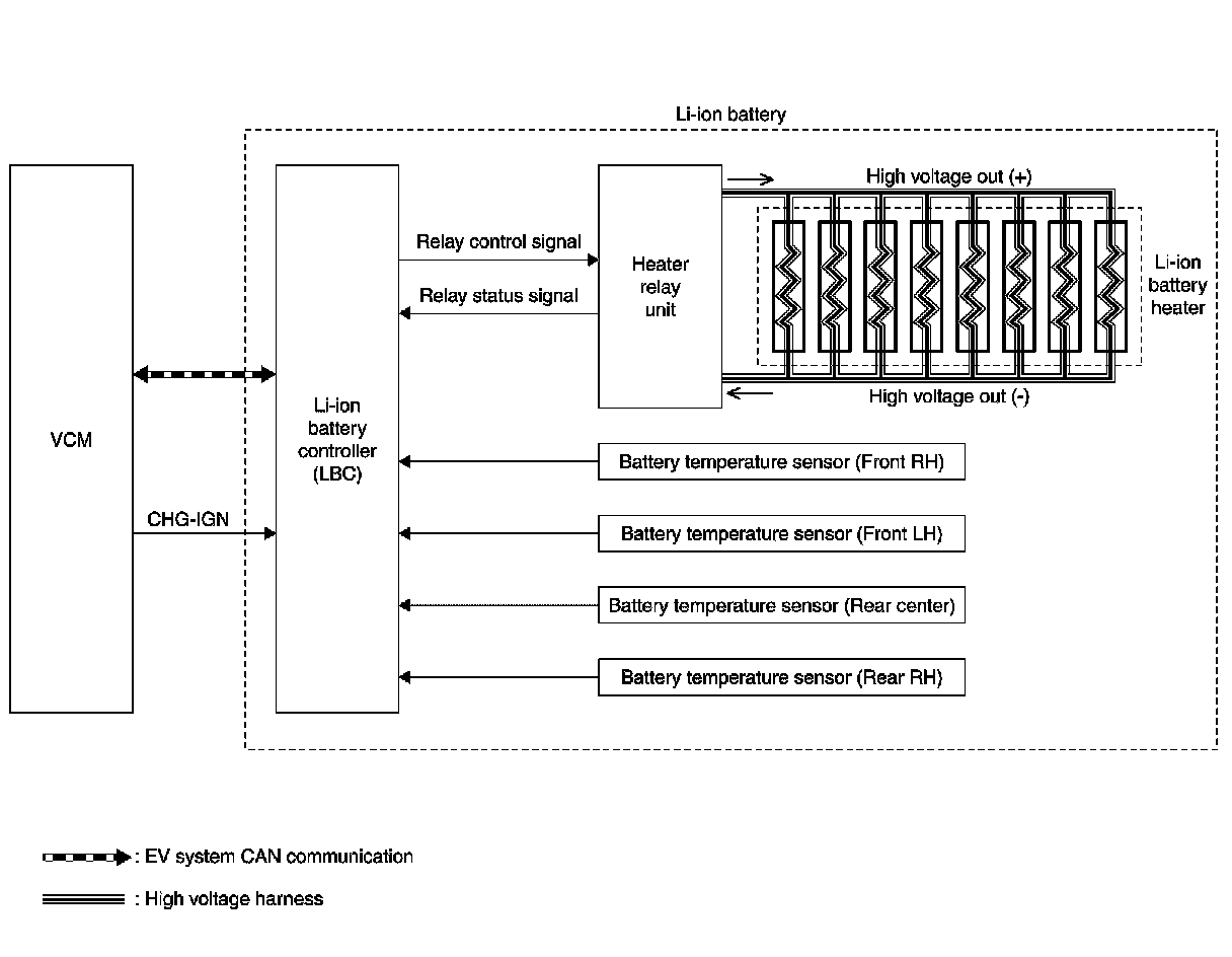
Li-Ion Battery Heater Control System




SYSTEM

LI-ION BATTERY HEATER CONTROL SYSTEM : System Description


SYSTEM DIAGRAM







INPUT/OUTPUT SIGNAL ITEM

Input Signal Item





Output Signal Item






DESCRIPTION

- When the temperature decreases [approximately 20�C (-4�F)] extremely in the battery pack, the Li-ion battery heater control system automatically activates the Li-ion battery heater to warm the inside of the battery pack for protecting Li-ion battery from freezing and preventing the decline in battery output. In addition, when the temperature in the battery pack is restored [approximately 10�
C (14�F)], the Li-ion battery heater stops.
- The Li-ion battery controller (LBC) detects a temperature in the battery pack, according to a signal transmitted from the battery temperature sensor installed to the battery pack and judges the activation of the Li-ion battery heater.
- When the relay built in the heater relay unit turns ON, high voltage power is supplied to each Li-ion battery heater.
- LBC detects the ON/OFF status of the relay built in to heater relay unit.
- Even when the power switch is OFF, VCM periodically activates LBC to protect Li-ion battery from freezing.
- When the temperature in Li-ion battery pack is low with no necessity of Li-ion battery heater operation, LBC
estimates the time that Li-ion battery may freeze and transmits a next start time signal to VCM via EV system CAN communication to prepare for starting the Li-ion battery heater next time.
- When receiving a next start time signal via EV system CAN communication, VCM transmits a start request signal (CHG-IGN) to LBC after a lapse of the set time. When receiving a start request signal (CHG-IGN), LBC activates the Li-ion battery heater.
When EVSE is connected (normal charge)





- When the temperature in the battery pack is low outside the timer charge set time, VCM transmits a keep
SOC request signal to LBC via EV system CAN communication. In this case Li-ion battery is not charged, and only Li-ion battery heater is activated.
- When timer charge starts at the set time, Li-ion batter is charged, and the Li-ion battery heater is activated.
When EVSE is not connected (normal charge)





- When the charge level of the Li-ion battery is low during the Li-ion battery heater operation, LBC stops the
Li-ion battery heater operation even if the temperature in the battery pack is insufficient.