Operation CHARM: Car repair manuals for everyone.
Manuals through 2025 now available!

Our trusted friends have launched a new website named LEMON, which has newer manuals. It also contains all the CHARM manuals.

LEMON is the spiritual successor to CHARM, I recommend you try it!

Link: lemon-manuals.la or lemon-manuals.org.ua

(Some people have issue connecting. LEMON is investigating. For now, use Firefox or change your DNS server)

Or, hide this message: temporarily or permanently

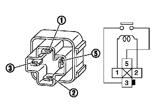
F/S CHG Relay




F/S CHG RELAY

Diagnosis Procedure


1. CHECK F/S CHG RELAY POWER SUPPLY-I

1.Turn power switch OFF.
2.Remove F/S CHG relay.
3.Turn power switch ON.
4.Check the voltage between F/S CHG relay harness connector and ground.





Is the inspection result normal?
YES- GO TO 4.
NO- GO TO 2.

2. CHECK F/S CHG RELAY POWER SUPPLY-II

Check the voltage between IPDM E/R harness connector and ground.





Is the inspection result normal?
YES- GO TO 3.
NO- Check F/S relay routing circuit. Refer to "Diagnosis Procedure" P31D7.

3. CHECK F/S CHG RELAY POWER SUPPLY CIRCUIT

1.Turn power switch OFF.
2.Disconnect IPDM E/R harness connector.
3.Check the continuity between F/S CHG relay harness connector and IPDM E/R harness connector.





4.Also check harness for short to ground and short to power.
Is the inspection result normal?
YES- Check intermittent incident. Refer to "Intermittent Incident" Intermittent Incident.
NO- Repair or replace error-detected parts.

4. CHECK BATTERY POWER SUPPLY-I

Check the voltage between F/S CHG relay harness connector and ground.





Is the inspection result normal?
YES- GO TO 8.
NO- GO TO 5.

5. CHECK FUSE

1.Turn power switch OFF.
2.Pull out #33 fuse.
3.Check that the fuse is not fusing.
Is the inspection result normal?
YES- GO TO 6.
NO- Replace the fuse after repairing the applicable circuit.

6. CHECK BATTERY POWER SUPPLY-II

Check the voltage between #33 fuse harness connector and ground.





Is the inspection result normal?
YES- GO TO 7.
NO- Check power supply circuit for battery power supply.

7. CHECK BATTERY POWER SUPPLY CIRCUIT

1.Check the continuity between F/S CHG relay harness connector and #33 fuse harness connector.





2.Also check harness for short to ground and short to power.
Is the inspection result normal?
YES- Check intermittent incident. Refer to "Intermittent Incident" Intermittent Incident.
NO- Repair or replace error-detected parts.

8. CHECK F/S CHG RELAY CONTROL SIGNAL CIRCUIT

1.Turn power switch OFF.
2.Disconnect VCM harness connector.
3.Check the continuity between F/S CHG relay harness connector and VCM harness connector.





4.Also check harness for short to ground and short to power.
Is the inspection result normal?
YES- GO TO 9.
NO- Repair or replace error-detected parts.

9. CHECK VCM GROUND CIRCUIT

Check the continuity between VCM harness connector and ground.





Is the inspection result normal?
YES- GO TO 10.
NO- Repair or replace error-detected parts.

10. CHECK F/S CHG RELAY

Refer to "Component Inspection (F/S CHG Relay)" .
Is the inspection result normal?
YES- GO TO 11.
NO- Replace F/S CHG relay.

11. CHECK INTERMITTENT INCIDENT

Check intermittent incident. Refer to "Intermittent Incident" Intermittent Incident.
Is the inspection result normal?
YES- Replace VCM. Refer to "Removal and Installation" Removal And Installation.
NO- Repair or replace error-detected parts.


Component Inspection (F/S CHG Relay)


1. CHECK F/S CHG RELAY

1.Turn power switch OFF.
2.Remove F/S CHG relay.





3.Check the continuity between F/S CHG relay terminals under the following conditions.





Is the inspection result normal?
YES- INSPECTION END
NO- Replace F/S CHG relay.