Operation CHARM: Car repair manuals for everyone.
Manuals through 2025 now available!

Our trusted friends have launched a new website named LEMON, which has newer manuals. It also contains all the CHARM manuals.

LEMON is the spiritual successor to CHARM, I recommend you try it!

Link: lemon-manuals.la or lemon-manuals.org.ua

(Some people have issue connecting. LEMON is investigating. For now, use Firefox or change your DNS server)

Or, hide this message: temporarily or permanently

Removal And Installation




TRACTION MOTOR INVERTER

Removal and Installation


WARNING:
- Because hybrid vehicles and electric vehicles contain a high voltage battery, there is the risk of electric shock, electric leakage, or similar accidents if the high voltage component and vehicle are handled incorrectly. Be sure to follow the correct work procedures when performing inspection and maintenance.
- Be sure to remove the service plug in order to disconnect the high voltage circuits before performing inspection or maintenance of high voltage system harnesses and parts.
- To prevent the removed service plug from being connected by mistake during the procedure, always carry it in your pocket or put it in the tool box.
- Be sure to wear insulating protective equipment consisting of glove, shoes, face shield and glasses before beginning work on the high voltage system.
- Clearly identify the persons responsible for high voltage work and ensure that other persons do not touch the vehicle. When not working, cover high voltage parts with an insulating cover sheet or similar item to prevent other persons from contacting them.
- High Voltage Precautions.

CAUTION:
There is the possibility of a malfunction occurring if the vehicle is changed to READY status while the service plug is removed. Therefore do not change the vehicle to READY status unless instructed to do so in the Service Manual.

REMOVAL


WARNING:
Disconnect high voltage circuit. Service and Repair.
1.Check voltage in high voltage circuit. (Check that condenser are discharged.)
a.Lift up the vehicle and remove the li-ion battery under covers. Service and Repair.
b.Disconnect the high voltage connector from front side of Li-ion battery. Service and Repair.





c.Measure voltage between high voltage harness terminals.






CAUTION:
For voltage measurements, use a tester which can measure to 500V or higher.
2.Remove front under cover. Floor Side Fairing.
3.Drain coolant from radiator. Coolant Draining And Refilling.
4.Remove 12V battery. Precaution For Removing 12V Battery.
5.Move fuse box.





6.Remove ground cable from DC/DC-J/B.






7.Remove motor room harness clip and water hose clip which are attached to traction motor inverter.










8.Turn traction motor inverter harness connector (1) of traction motor inverter counterclockwise to remove it.

White arrow indicates : Vehicle front






9.Remove brake reservoir tank together with bracket, and move it in order to secure work space needed to remove traction motor inverter.
10.Remove degas tank, and move it in order to secure work space needed to remove traction motor inverter.





11.Disconnect water hose from OUT side of traction motor inverter.

White arrow indicates : Vehicle front






CAUTION:
- Take care that coolant does not contact the high voltage harness connectors.
- To prevent performance degradation, if coolant contacts a high voltage harness connector, immediately dry the high voltage connector completely with an air blow gun.





12.Disconnect water hose (1) at DC/DC-J/B OUT side.






CAUTION:
- Take care that coolant does not contact the high voltage harness connectors.
- To prevent performance degradation, if coolant contacts a high voltage harness connector, immediately dry the high voltage connector completely with an air blow gun.





13.Remove torx bolts (A), and then remove high voltage safety cover (1).

White arrow indicates : Vehicle front










14.Remove 3-phase harness cover mounting bolts and remove 3phase harness cover.

White arrow indicates : Vehicle front










15.Remove 3-phase harness mounting bolts and remove 3-phase harness.

White arrow indicates : Vehicle front






CAUTION:
- When removing 3-phase harness mounting bolts, take care not to drop them into traction motor inverter.
- Bolts cannot fall into the traction motor inverter until 3-phase harness is pulled downwards.
Therefore if bolts look likely to fall, be sure to collect them with a magnet or other means before pulling 3-phase harness out downwards.
- If a bolt falls into traction motor inverter, do not invert traction motor inverter. (If inverted, bolt may contact PCB inside traction motor inverter, causing damage.)
- Incline so that 3-phase harness bolt insertion hole faces down in order to recover the fallen bolt.





16.Remove 3-phase harness grommet mounting bolts and pull 3phase harness out downwards.

White arrow indicates : Vehicle front






- Protect the terminals of disconnected high voltage harness connector with insulation tape so that they are not exposed.





17.Remove high voltage connector (3 step type) that is connected to DC/DC-J/B.

White arrow indicates : Vehicle front





- Protect the terminals of disconnected high voltage harness connector with insulation tape so that they are not exposed.
- Follow steps shown below to remove a 3-step type high voltage connector.










18.Remove traction motor inverter fastening bolts, then remove traction motor inverter.

White arrow indicates : Vehicle front






CAUTION:
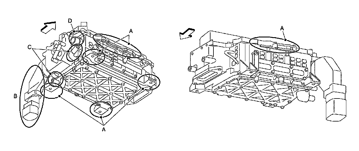
- When removing and transporting traction motor inverter, grasp part (A) shown in figure.
- Do not grasp the high voltage connector (B), cooling bulge (C), or 12V system connector (D).






White arrow indicates : Vehicle front

INSTALLATION

Pay attention to the following and install by following the procedure for removal in the reverse order.






CAUTION:
- Be sure to reinstall high voltage harness clips in their original positions. If a clip is damaged, replace it with a new clip before installing.
- Be sure to perform correct air bleeding after adding coolant. Coolant Draining And Refilling.





- If traction motor inverter was replaced, apply high voltage warning label at position (A), with top facing in the direction of arrow.
- Before applying label, verify that there is no dust or dirt on surface of traction motor inverter.

White arrow indicates : Vehicle front

NOTE:
Place the ornament (NISSAN and Zero Emission) in place.

- Follow the procedure below and connect the 3-step type high voltage harness connector.










- When installing 3-phase harness, take care packing does not become displaced while inserting harness into inverter.

White arrow indicates : Vehicle front





- To tighten 3-phase harness cover bolt, temporarily tighten bolt (A)
and (B) shown in the figure for positioning purpose before tightening two center bolts (C). After this, tighten four remaining bolts.

White arrow indicates : Vehicle front





CAUTION:
- To install, align gasket tab (A) as shown in the figure.
- Gasket of the 3-phase harness cover is not reusable. Be sure to replace it with a new part.

White arrow indicates : Vehicle front

- After all parts are installed, be sure to check equipotential. Inspection And Adjustment.
- If traction motor inverter was replaced, perform resolver write. Work Procedure.