Operation CHARM: Car repair manuals for everyone.
Manuals through 2025 now available!

Our trusted friends have launched a new website named LEMON, which has newer manuals. It also contains all the CHARM manuals.

LEMON is the spiritual successor to CHARM, I recommend you try it!

Link: lemon-manuals.la or lemon-manuals.org.ua

(Some people have issue connecting. LEMON is investigating. For now, use Firefox or change your DNS server)

Or, hide this message: temporarily or permanently

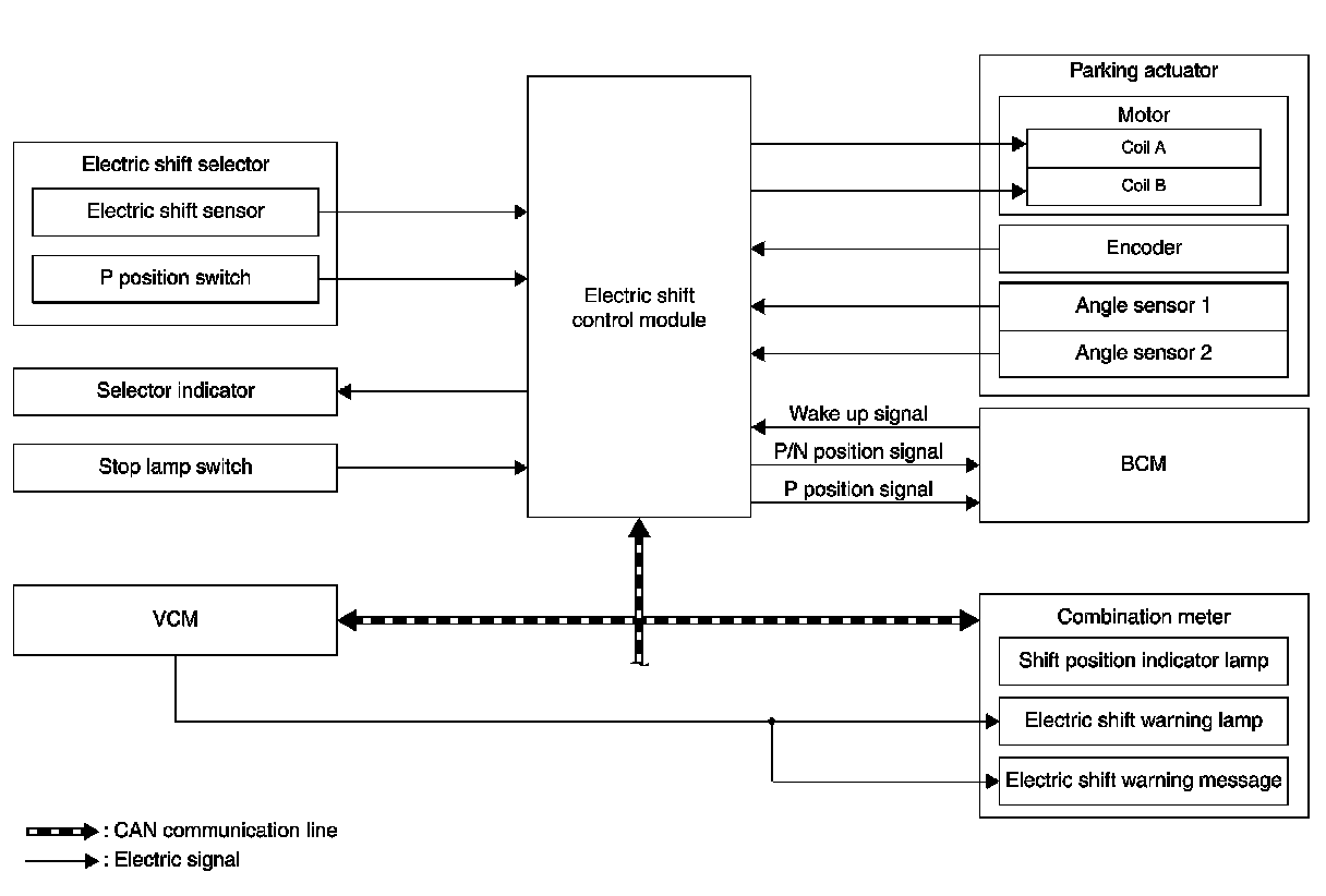
System Description




SYSTEM

System Description

- The electric shift system detects each shift position electrically. In addition, in P position, the electric shift system activates the parking actuator, according to electrical signals received from the P position switch and brings the vehicle into the parking state.
- In the event of a malfunction in the electric shift system, the shift position indicator (in the combination meter)
turns OFF and only the selector indicator (in the electric shift selector area) indicates the shift position.
- In the event of a malfunction in the electric shift system, the system enters fail-safe mode. Refer to "Fail-Safe" Initial Inspection and Diagnostic Overview.

SYSTEM DIAGRAM