Operation CHARM: Car repair manuals for everyone.
Manuals through 2025 now available!

Our trusted friends have launched a new website named LEMON, which has newer manuals. It also contains all the CHARM manuals.

LEMON is the spiritual successor to CHARM, I recommend you try it!

Link: lemon-manuals.la or lemon-manuals.org.ua

(Some people have issue connecting. LEMON is investigating. For now, use Firefox or change your DNS server)

Or, hide this message: temporarily or permanently

Driver Air Bag Module




COMPONENT PARTS

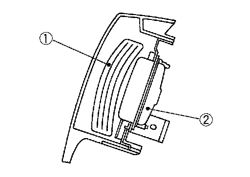
AIR BAG MODULE : Driver air bag module






- Driver air bag module is built into steering wheel.
- Driver air bag module mainly consists of air bag (1) and inflator (2)
which inflates air bag.





- Driver air bag inflates by breaking steering wheel center pad surface (A).