Operation CHARM: Car repair manuals for everyone.
Manuals through 2025 now available!

Our trusted friends have launched a new website named LEMON, which has newer manuals. It also contains all the CHARM manuals.

LEMON is the spiritual successor to CHARM, I recommend you try it!

Link: lemon-manuals.la or lemon-manuals.org.ua

(Some people have issue connecting. LEMON is investigating. For now, use Firefox or change your DNS server)

Or, hide this message: temporarily or permanently

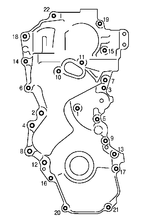
Timing Cover



TIMING CHAIN

Install front cover, and tighten bolts in numerical order as shown.






CAUTION: Attaching should be done within 5 minutes after liquid gasket application.

NOTE: Use the following for the installation position of bolts.

M6 bolts : No. 1 6.6 N.m (0.67 kg-m, 58 in-lb)
M10 bolts : No. 6, 7, 10, 11, 14 55 N.m (5.6 kg-m, 41 ft-lb)
M12 bolts : No. 2, 4, 8, 12 75 N.m (7.7 kg-m, 55 ft-lb)
M8 bolts : No. 3, 5, 9, 13, 15-22 25.5 N.m (2.6 kg-m, 19 ft-lb)

Tighten all bolts are in two stages to specified torque in numerical order as shown.