Operation CHARM: Car repair manuals for everyone.
Manuals through 2025 now available!

Our trusted friends have launched a new website named LEMON, which has newer manuals. It also contains all the CHARM manuals.

LEMON is the spiritual successor to CHARM, I recommend you try it!

Link: lemon-manuals.la or lemon-manuals.org.ua

(Some people have issue connecting. LEMON is investigating. For now, use Firefox or change your DNS server)

Or, hide this message: temporarily or permanently

Diagnosis Description




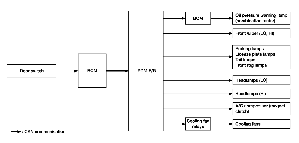
DIAGNOSIS SYSTEM (IPDM E/R)

Diagnosis Description


AUTO ACTIVE TEST

Description
In auto active test mode, the IPDM E/R sends a drive signal to the following systems to check their operation.
- Oil pressure warning lamp
- Front wiper (LO, HI)
- Parking lamps
- License plate lamps
- Tail lamps
- Front fog lamps (if equipped)
- Headlamps (LO, HI)
- A/C compressor (magnet clutch)
- Cooling fans
Operation Procedure
1.Close the hood and lift the wiper arms from the windshield. (Prevent windshield damage due to wiper operation)
NOTE:
When auto active test is performed with hood opened, sprinkle water on windshield beforehand.
2.Turn ignition switch OFF.
3.Turn the ignition switch ON, and within 20 seconds, press the front door switch LH 10 times. Then turn the ignition switch OFF.

CAUTION:
Close front door RH.
4.Turn the ignition switch ON within 10 seconds. After that the horn sounds once and the auto active test starts.
5.The oil pressure warning lamp starts blinking when the auto active test starts.
6.After a series of the following operations is repeated 3 times, auto active test is completed.
NOTE:
When auto active test mode has to be cancelled halfway through test, turn ignition switch OFF.

CAUTION:
- If auto active test mode cannot be actuated, check door switch system. Door Switch.
- Do not start the engine.
Inspection in Auto Active Test Mode
When auto active test mode is actuated, the following 6 steps are repeated 3 times.





Concept of auto active test





- IPDM E/R starts the auto active test with the door switch signals transmitted by BCM via CAN communication. Therefore, the CAN communication line between IPDM E/R and BCM is considered normal if the auto active test starts successfully.
- The auto active test facilitates troubleshooting if any systems controlled by IPDM E/R cannot be operated.
Diagnosis chart in auto active test mode