Operation CHARM: Car repair manuals for everyone.
Manuals through 2025 now available!

Our trusted friends have launched a new website named LEMON, which has newer manuals. It also contains all the CHARM manuals.

LEMON is the spiritual successor to CHARM, I recommend you try it!

Link: lemon-manuals.la or lemon-manuals.org.ua

(Some people have issue connecting. LEMON is investigating. For now, use Firefox or change your DNS server)

Or, hide this message: temporarily or permanently

System Description




SYSTEM

INTELLIGENT KEY SYSTEM/ENGINE START FUNCTION : System Description


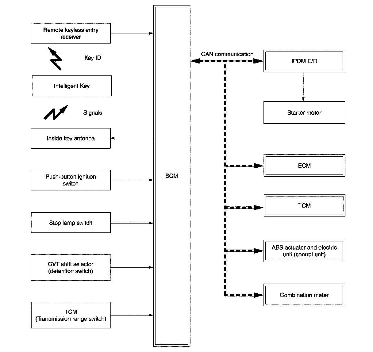
SYSTEM DIAGRAM







INPUT/OUTPUT SIGNAL CHART

Input Signal Item





Output Signal Item






SYSTEM DESCRIPTION

- The engine start function of Intelligent Key system makes it possible to start and stop the engine without using the key, based on the electronic ID verification. The electronic ID verification is performed between
BCM and Intelligent Key when the push-button ignition switch is pressed while the Intelligent Key is within the detection area of inside key antenna.
NOTE:
The driver should carry the Intelligent Key at all times.
- Intelligent Key has 2 IDs [Intelligent Key ID and NVIS (NATS) ID]. It can perform the door lock/unlock operation and the push-button ignition switch operation when the registered Intelligent Key is carried.
- If the ID is successfully verified, when push-button ignition switch is pressed, the engine can be started.
- Up to 4 Intelligent Keys can be registered (Including the standard Intelligent Key) upon request from the customer.
NOTE:
Intelligent Key System for any functions other than engine start function of Intelligent Key system.

PRECAUTIONS FOR INTELLIGENT KEY SYSTEM

The transponder [the chip for NVIS (NATS) ID verification] is integrated into the Intelligent Key. (For the conventional models, it is integrated into the mechanical key.) Therefore, ID verification cannot be performed by mechanical key only.
In that case, NVIS (NATS) ID verification can be performed when Intelligent Key backside is contacted to push-button ignition switch while brake pedal is depressed. If verification result is OK, engine can be started.

OPERATION WHEN INTELLIGENT KEY IS CARRIED

1.When the push-button ignition switch is pressed, the BCM activates the inside key antenna and transmits the request signal to the Intelligent Key.
2.The Intelligent Key receives the request signal and transmits the Intelligent Key ID signal to the BCM.
3.BCM receives the Intelligent Key ID signal via remote keyless entry receiver and verifies it with the registered ID.
4.BCM turns ACC relay ON and transmits the ignition power supply ON signal to IPDM E/R.
5.IPDM E/R turns the ignition relay ON and starts the ignition power supply.
6.IPDM E/R turns the starter control relay ON for engine starting in advance.
7.BCM detects the selector lever position and brake pedal operation condition.
8.BCM transmits the starter request signal to IPDM E/R and turns the starter relay in IPDM E/R ON if BCM
judges that the engine start condition* is satisfied.
9.Power supply is supplied through the starter relay and the starter control relay to operate the starter motor.

CAUTION:
If a malfunction is detected in the Intelligent Key system, the "KEY" warning lamp on the combination meter illuminates. At that time, the engine cannot be started.
10.When BCM receives feedback signal from ECM indicating that the engine is started, the BCM transmits a stop signal to IPDM E/R and stops cranking by turning OFF the starter relay. (If engine start is unsuccessful, cranking stops automatically within 5 seconds.)

CAUTION:
When the Intelligent Key is carried outside of the vehicle (inside key antenna detection area) while the power supply is in the ACC or ON position, even if the engine start condition* is satisfied, the engine cannot be started.
*: For the engine start condition, refer to "IGNITION SWITCH POSITION CHANGE TABLE BY PUSH-BUTTON IGNITION SWITCH OPERATION".

OPERATION RANGE

Engine can be started when Intelligent Key is inside the vehicle. However, sometimes engine may not start when Intelligent Key is on instrument panel or in glove box.

ENGINE START OPERATION WHEN INTELLIGENT KEY IS CONTACTED TO PUSH-BUTTON IGNITION SWITCH

When Intelligent Key battery is discharged, NVIS (NATS) ID verification between transponder in Intelligent Key and BCM is performed when Intelligent Key backside is contacted to push-button ignition switch while brake pedal is depressed. If the verification result is OK, engine can be started.

IGNITION SWITCH POSITION CHANGE TABLE BY PUSH-BUTTON IGNITION SWITCH OPERATION

The ignition switch position can be changed by the following operations.
NOTE:
- When an Intelligent Key is within the detection area of inside key antenna or when Intelligent Key backside is contacted to push-button ignition switch, it is equivalent to the operations below.
- When starting the engine, the BCM monitors under the engine start conditions,
CVT models
- Brake pedal operation condition
- Selector lever position
- Vehicle speed
Vehicle speed: less than 4 km/h (2.5 MPH)





Vehicle speed: 4 km/h (2.5 MPH) or more