Operation CHARM: Car repair manuals for everyone.
Manuals through 2025 now available!

Our trusted friends have launched a new website named LEMON, which has newer manuals. It also contains all the CHARM manuals.

LEMON is the spiritual successor to CHARM, I recommend you try it!

Link: lemon-manuals.la or lemon-manuals.org.ua

(Some people have issue connecting. LEMON is investigating. For now, use Firefox or change your DNS server)

Or, hide this message: temporarily or permanently

Memory Function




SYSTEM

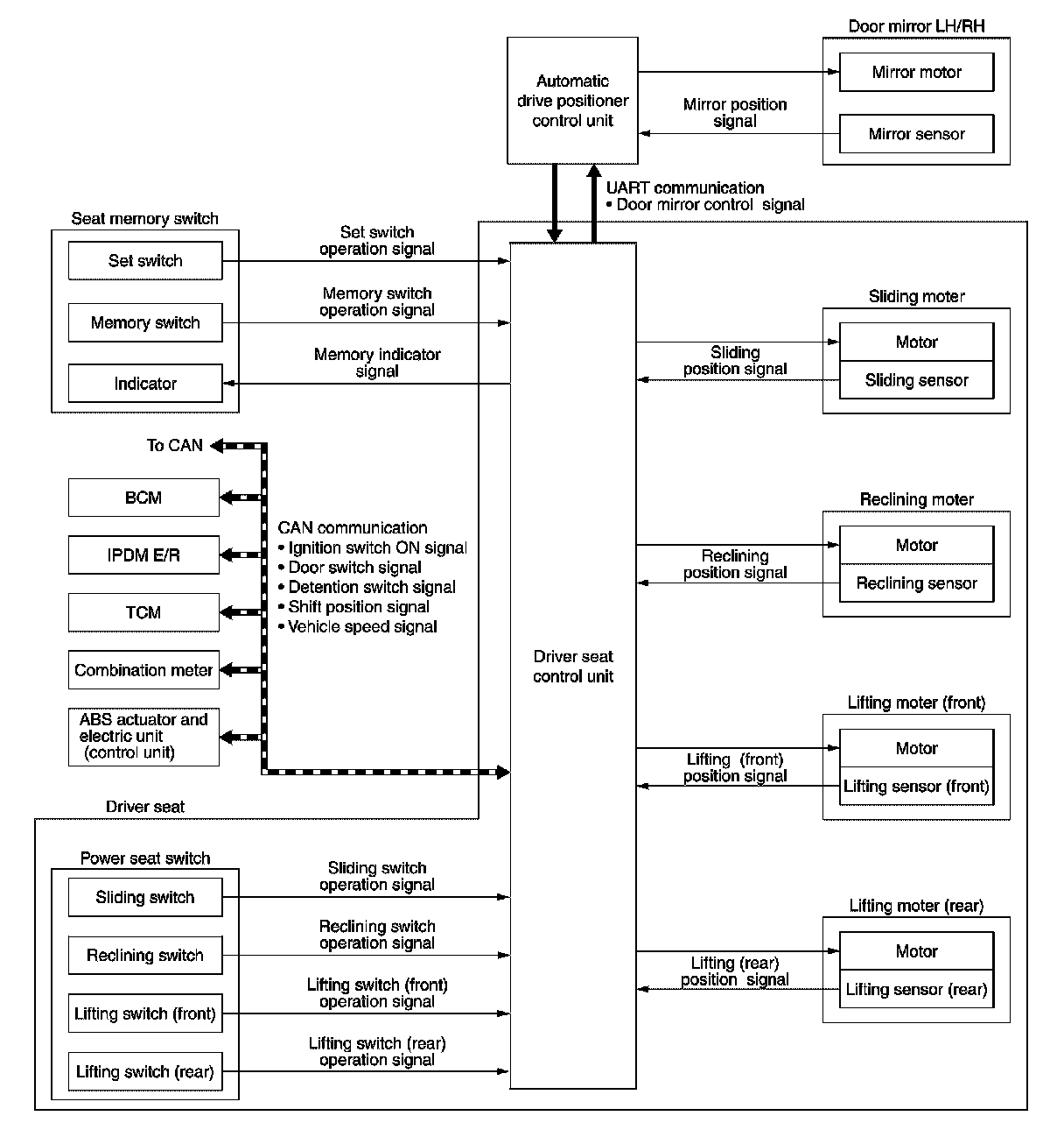
MEMORY FUNCTION : System Description


SYSTEM DIAGRAM







DESCRIPTION

- The driver seat control unit can store the optimum driving positions (seat and door mirror position) for 2 people. If the front seat position is changed, one-touch (pressing desired memory switch) operation allows changing to the other driving position.
- When memory switch 1 and 2 are operated, operation signal is transmitted to driver seat control unit.
- When driver seat control unit detects that memory switch is pressed for 0.5 seconds or more, driver seat control unit operates each motor of driver seat and detects the driver seat position according to signals transmitted from each sensor. Driver seat control unit requests the operation of mirror motor to automatic drive positioner control unit via UART communication.
- Automatic drive positioner control unit operates mirror motor, detects the door mirror position according to signal transmitted from mirror sensor, and transmits the detected door mirror position to driver seat control unit via UART communication.
- Driver seat control unit stops the operation of each motor when each part reaches the memorized positions.
- Driver seat control unit turns memory indicator lamp OFF that is blinking while each motor operates.
NOTE:
Further information for the memory storage procedure. Work Procedure.
Operation Condition
Satisfy all of the following items. The memory function is not performed if these items are not satisfied.





Timer Function
- The memory function can be performed for 45 seconds after opening the driver door even if the ignition switch position is in OFF position.
- Satisfy all of the following items. The timer function is not performed if these items are not satisfied.