Operation CHARM: Car repair manuals for everyone.
Manuals through 2025 now available!

Our trusted friends have launched a new website named LEMON, which has newer manuals. It also contains all the CHARM manuals.

LEMON is the spiritual successor to CHARM, I recommend you try it!

Link: lemon-manuals.la or lemon-manuals.org.ua

(Some people have issue connecting. LEMON is investigating. For now, use Firefox or change your DNS server)

Or, hide this message: temporarily or permanently

Cylinder Head Assembly



CYLINDER HEAD






White arrow indicates : Engine front

Cylinder head, follow the steps below to tighten cylinder head bolts in numerical order as shown.






Check and confirm the tightening angle by using Tool (A) or protractor. Never judge by visual inspection without the tool.

Tool number: KV-10112100 (BT-8653-A)

Re-usability

CAUTION: If cylinder head bolts re-used, check their outer diameters before installation. Follow the "Cylinder Head Bolts Outer Diameter" procedure.

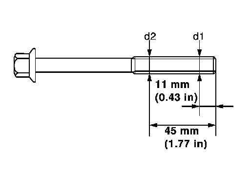
Cylinder Head Bolts Outer Diameter

Cylinder head bolts are tightened by plastic zone tightening method. Whenever the size difference between "d1" and "d2" exceeds the limit, replace them with a new one.






Limit ("d1" - "d2"): 0.15 mm (0.0059 in)

If reduction of outer diameter appears in a position other than "d2", use it as "d2" point.



CYLINDER HEAD






CYLINDER BLOCK






EXHAUST MANIFOLD








Camshaft Bearing Cap Torque & Sequence






White arrow indicates : Engine front

Camshaft bracket bolts in three stage in numerical order as shown.

There are two types of bolts. Locate the bolts as shown.
M6 bolts [thread length: 57.5 mm (2.264 in)]
: 13, 14 and 15
M6 bolts [thread length: 35.00 mm (1.378 in)]
: Except the above

Tighten all bolts in numerical order in three steps.
Step 1: 1.96 Nm (0.20 kg-m, 17 in-lb)
Step 2: 5.88 Nm (0.60 kg-m, 52 in-lb)
Step 3: 9.5 Nm (0.97 kg-m, 84 in-lb)

Intake Manifold Specifications

Exhaust Manifold Specifications

Camshaft Gear/Sprocket Specifications