Operation CHARM: Car repair manuals for everyone.
Manuals through 2025 now available!

Our trusted friends have launched a new website named LEMON, which has newer manuals. It also contains all the CHARM manuals.

LEMON is the spiritual successor to CHARM, I recommend you try it!

Link: lemon-manuals.la or lemon-manuals.org.ua

(Some people have issue connecting. LEMON is investigating. For now, use Firefox or change your DNS server)

Or, hide this message: temporarily or permanently

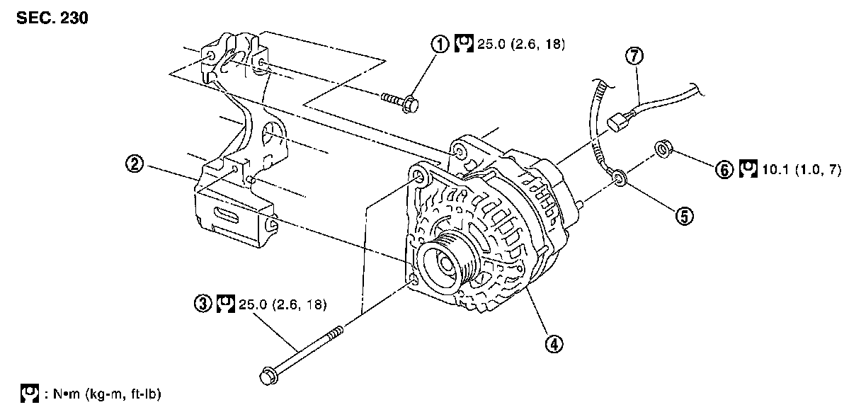
Alternator: Service and Repair




CHARGING SYSTEM

Removal and Installation MR20DE












REMOVAL

1.Disconnect the battery negative terminal. Removal and Replacement.
2.Remove RH front wheel and tire. Adjustment.
3.Remove splash shield RH. Component.
4.Remove drive belt. Removal And Installation.
5.Disconnect generator connector.
6.Remove "B" terminal nut.
7.Remove generator bolts.
8.Remove generator assembly from the vehicle.

INSTALLATION


CAUTION:
Generator bolts must be tightened in sequence.
1.Install and temporarily tighten the lower generator bolt.
2.Install and temporarily tighten the upper generator bolt.
3.Tighten the upper generator bolt to specification.
4.Tighten the lower generator bolt to specification.
NOTE:
Slide bushing must contact engine bracket after generator is installed.
Installation of the remaining components is in the reverse order of removal.

CAUTION:
Be sure to tighten "B" terminal nut carefully.