Operation CHARM: Car repair manuals for everyone.
Manuals through 2025 now available!

Our trusted friends have launched a new website named LEMON, which has newer manuals. It also contains all the CHARM manuals.

LEMON is the spiritual successor to CHARM, I recommend you try it!

Link: lemon-manuals.la or lemon-manuals.org.ua

(Some people have issue connecting. LEMON is investigating. For now, use Firefox or change your DNS server)

Or, hide this message: temporarily or permanently

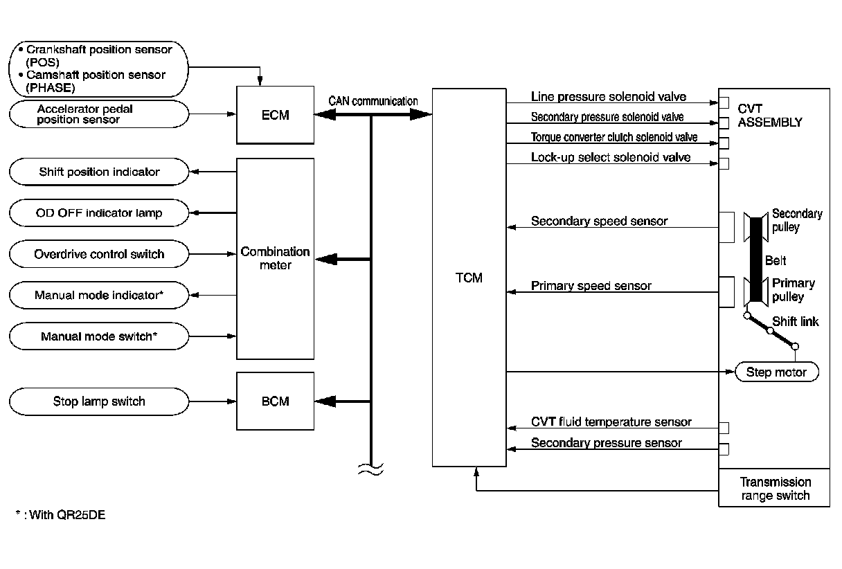
CVT TCM Function




CVT SYSTEM

TCM Function

The function of the TCM is to:
- Receive input signals sent from various switches and sensors.
- Determine required line pressure, shifting point, and lock-up operation.
- Send required output signals to the step motor and the respective solenoids.

CONTROL SYSTEM OUTLINE

The CVT senses vehicle operating conditions through various sensors. It always controls the optimum shift position and reduces shifting and lock-up shocks.






CONTROL SYSTEM DIAGRAM