Control Module: Service and Repair
TCM
Removal and Installation
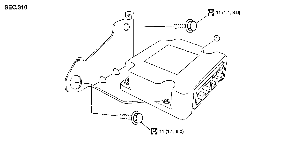
COMPONENTS
REMOVAL
CAUTION:
When replacing TCM and transaxle assembly as a set, replace transaxle assembly first and then replace TCM. Service After Replacing TCM, Control Valve And Transaxle Assembly.
1.Disconnect the battery negative terminal.
2.Disconnect the TCM harness connector (1) from the TCM (2).
- Instrument lower finisher (3)
3.Remove the TCM (2).
INSTALLATION
Installation is in the reverse order of removal.