Operation CHARM: Car repair manuals for everyone.
Manuals through 2025 now available!

Our trusted friends have launched a new website named LEMON, which has newer manuals. It also contains all the CHARM manuals.

LEMON is the spiritual successor to CHARM, I recommend you try it!

Link: lemon-manuals.la or lemon-manuals.org.ua

(Some people have issue connecting. LEMON is investigating. For now, use Firefox or change your DNS server)

Or, hide this message: temporarily or permanently

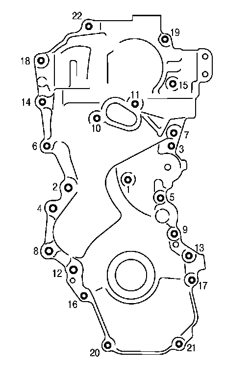
Timing Cover







15.Install front cover, and tighten bolts in two stages to specified torque in numerical order as shown.

CAUTION:
- Installation should be done within 5 minutes after liquid gasket application.
- Be sure to wipe off any excessive liquid gasket leaking.
NOTE:
Installation position of bolts is as shown.