Operation CHARM: Car repair manuals for everyone.
Manuals through 2025 now available!

Our trusted friends have launched a new website named LEMON, which has newer manuals. It also contains all the CHARM manuals.

LEMON is the spiritual successor to CHARM, I recommend you try it!

Link: lemon-manuals.la or lemon-manuals.org.ua

(Some people have issue connecting. LEMON is investigating. For now, use Firefox or change your DNS server)

Or, hide this message: temporarily or permanently

A/C Signal: Description and Operation

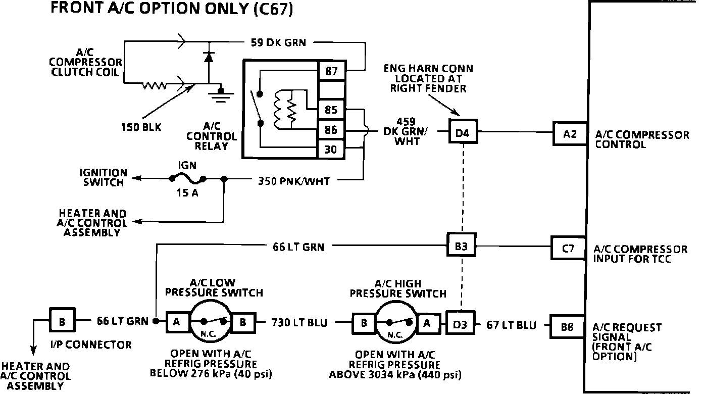
Front A/C Clutch Control Circuit - 3.1L 93 U Body:




Rear A/C Clutch Control Circuit - 3.1L 93 U Body:





PURPOSE
Provides ECM control of the A/C clutch to improve idle quality and engine performance.

NOTE This vehicle has two A/C options available:
- The V-5 system (front A/C only C67) uses a compressor with variable displacement. The V-5 type meets A/C requirements without cycling.
- The HE-6 systems uses a compressor that cycles the A/C compressor clutch when the A/C is "ON" (rear A/C only C34).

This vehicle uses R134A refrigerant which replaces the standard R12. The similar cooling and pressure characteristics allows the A/C systems to remain virtually unchanged.

CONSTRUCTION
The ECM controlled A/C circuit system consists of:
- Heater and A/C control assembly located at the dashboard.
- Low pressure switch (Front A/C option).
- High pressure cut-out switch (Front and Rear A/C option).
- Pressure cycling switch (Rear A/C option).
- Control relay
- Compressor
- High pressure fan control switch

OPERATION
The low pressure switch, mounted in the compressor, is closed when the system contains a sufficient refrigerant charge and warm climate temperature exists. This switch opens when A/C pressure is less than about 40 psi (276 kPa).

The high pressure cut-out switch (normally closed) opens when pressure is greater than about 440 psi (3034 kPa). This disables the A/C clutch before damage can occur to the system.

The pressure cycling switch, mounted on the accumulator, is an evaporator freeze protection device and senses refrigerant pressure on the suction side of the system. During air temperatures of 16 - 25 ~C (60 - 80 ~F), the equalized pressures within the charged A/C system will close the contacts of the pressure switch. As the compressor reduces the evaporative pressure to approximately 138 kPa (20 psi), the pressure switch will open, de-energizing the compressor clutch via the ECM. As the system equalizes and the pressure reaches approximately 303 kPa (44 psi), the pressure switch contacts close, re-energizing the clutch coil. This cycling continues and maintains evaporator discharge air temperature at approximately 1~C (33~F). Because of this cycling, some slight increase and decreases of engine speed/power may be noticed under certain conditions. This is normal and designed to maintain desired cooling without evaporator freeze-up.

The A/C control relay is controlled by the ECM. This allows the ECM to:
- Delay clutch engagement (about 8 seconds) until idle speed is increased.
- Release clutch when engine temperature exceeds 125~C (257~F).
- Release clutch during Wide Open Throttle (WOT).
- Prevent clutch engagement until engine RPM is below 4000 RPM for 3 seconds.

TCC engagement is also affected by A/C operation by:
- A/C "ON" engagement speed is approximately 35 mph.
- A/C "OFF" engagement speed is approximately 30 mph.