Operation CHARM: Car repair manuals for everyone.
Manuals through 2025 now available!

Our trusted friends have launched a new website named LEMON, which has newer manuals. It also contains all the CHARM manuals.

LEMON is the spiritual successor to CHARM, I recommend you try it!

Link: lemon-manuals.la or lemon-manuals.org.ua

(Some people have issue connecting. LEMON is investigating. For now, use Firefox or change your DNS server)

Or, hide this message: temporarily or permanently

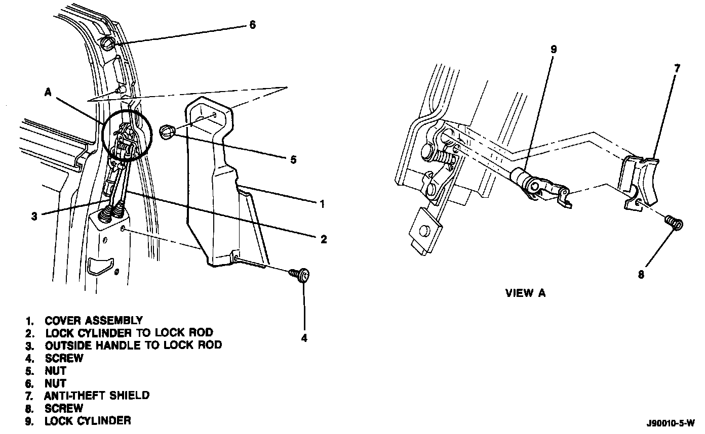
Coupe

Door Lock Module:




Door Lock At Handle:






Remove or Disconnect

1. Door trim panel.
2. Water deflector loosen.
3. Nut and screw securing cover assembly to door.
4. Door handle cover assembly.
5. Lock cylinder to lock rod.
6. Outside handle to lock rod.
7. Screws securing lock assembly to door.
8. Rivets securing lock module assembly to door by punching out mandrel, then using a 4.8 mm (3/16 inch) drill bit.
9. Power lock connector.
10. Lock module assembly.

Install or Connect

1. Lock module assembly in position through access hole in door inner panel. Align module to holes in door facing.

NOTICE: It is required that while performing step 2 the lock assembly be held tight against door facing while installing screws. All screws must be driven at a 90 degree angle to door facing to prevent cross threading or stripping of screws or door lock attaching holes. It is also required to tighten screws to specified torque of 7 N.m (62 lb. in.).

2. Screws securing lock assembly to door.

Tighten
^ Screws to 7 N.m (62 lb. in.).

3. Power lock connector.
4. Rivets securing lock module assembly to door using 3/16 inch x 1/4 inch peel type rivets.
5. Outside handle to lock rod.
6. Lock cylinder to lock rod.

Inspect
^ Lock system for proper operation.

7. Door handle cover assembly.
8. Nut and screw securing cover assembly to door.

Tighten
^ Nut to 3 N.m (27 lb. in.).
^ Screw to 2 N.m (18 lb. in.).

9. Water deflector.
10. Do or trim panel.