Operation CHARM: Car repair manuals for everyone.
Manuals through 2025 now available!

Our trusted friends have launched a new website named LEMON, which has newer manuals. It also contains all the CHARM manuals.

LEMON is the spiritual successor to CHARM, I recommend you try it!

Link: lemon-manuals.la or lemon-manuals.org.ua

(Some people have issue connecting. LEMON is investigating. For now, use Firefox or change your DNS server)

Or, hide this message: temporarily or permanently

Auxiliary Heater Core

Remove or Disconnect

Tool Required:
J 29843-9 Seat Belt Torx(R) Wrench

^ Drain engine coolant.

Front Side Door Sill Trim Plate:





1. LH and RH front side door sill trim plate retaining screws (161) and plates (160) from vehicle.
2. LH (driver) and RH (passenger) front bucket seats.
3. Second row seating.

Rear Seat Anchor Trim Plates:





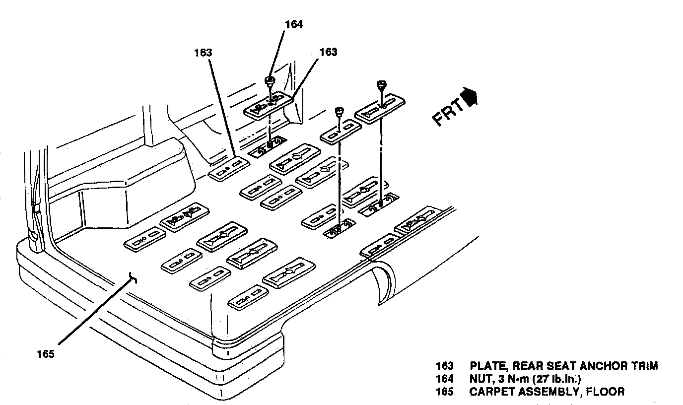
4. Retaining nuts (163) and two second row seat anchor trim plates (164) closest to LH center pillar/quarter lower trim finish panel (142).

Driver's Seat Belt Upper Anchor Bolt:




Second Row Seat Belt:





5. Seat belt upper anchor bolt (167) from LH center pillar with J 29843-9.
^ Open (from bottom) seat belt guide cover (171) on LH second row seat belt guide.
6. Seat belt upper anchor bolt (167) from LH body lock pillar with J 29843-9.

LH Rear Interior Trim:





7. LH quarter upper trim finish panel (174).
8. LH rear wheelhouse trim finish panel (178).
9. Screws retaining LH body lock pillar trim finish panel and panel (169) from vehicle.

Auxiliary Heater Rear Fan - Rear Control:





10. Screws retaining LH center pillar/quarter lower trim finish panel (142).
11. Rear fan - rear control (with ashtray) (141) from LH center pillar/quarter lower trim finish panel (142).
12. Body wiring harness connector (143) from rear fan - rear control (141).
^ Route driver's seat belt assembly through LH center pillar/quarter lower trim finish panel (142).
13. LH center pillar/quarter lower trim finish panel (142) from vehicle.

Rear Compartment Outlet Ducts:




Auxiliary Heater Blower Module Components:





14. Screws (181) retaining rear compartment outlet (B-pillar) duct (180). (Do not remove duct - screws are removed to provide enough duct movement to remove beltline-horizontal duct.)
15. Screws (181) retaining rear compartment outlet (beltline-horizontal) duct (182).
16. Rear compartment outlet (beltline-horizontal) duct (182) from vehicle.
17. Body wiring harness connectors from auxiliary heater blower motor (198) and blower motor resistor (186).

Auxiliary Heater Blower Module:





18. Auxiliary heater blower module retaining screws.
19. Heater control vacuum hose (123) from rear temperature valve vacuum actuator (120).
^ Carefully pull auxiliary heater blower module (128) away from LH body side frame (121).
20. Screw supporting heater hose support strap to auxiliary heater blower module.
21. Clamps and heater inlet and/or outlet hoses(s) (1079/1080) from heater core pipe(s) (125/126).
22. Retaining screw and heater core cutlet pipe clamp (197).
23. Retaining screw and heater core inlet pipe clamp (1003).
24. Retaining screws and heater outlet case (131) from auxiliary heater blower module (128).
25. Retaining screws and heater core clamp (196).
26. Retaining screws and heater core clip (191).
27. Heater core (190) from auxiliary heater blower module (128).

Install or Connect

1. Heater core (190) into auxiliary heater blower module (128).
2. Heater core clamp (196) with retaining screw.

Tighten
^ Heater core clamp retaining screw to 3 Nm (27 lb.in.).

3. Heater core clip (191) with retaining screws.

Tighten
^ Heater core clip retaining screws to 3 Nm (27 lb.in.).

4. Heater inlet case (193) to auxiliary heater blower module (128) with retaining screws.

Tighten
^ Heater outlet case retaining screws to 3 Nm (27 lb.in.).

5. Heater core outlet pipe clamp (197) with retaining screw.
6. Heater core inlet pipe clamp (1003) with retaining screw.

Tighten
^ Heater core pipe clamp retaining screws to 3 Nm (27 lb.in.).

7. Clamps and heater inlet/outlet hoses to heater core pipes.
8. Heater hose support strap to auxiliary heater blower module (128) with screw.

Tighten
^ Heater hose support strap screw to 6 Nm (53 lb.in.).

^ Position auxiliary heater blower module (128) next to LH body side frame (121).
9. Heater control vacuum hose (123) to rear temperature valve vacuum actuator (120).
10. Auxiliary heater blower module retaining screws.

Tighten
^ Auxiliary heater blower module retaining screws to 4 Nm (35 lb.in.).

11. Body wiring harness connector to auxiliary heater blower motor (198) and blower motor resistor (186).
12. Rear compartment outlet (beltline-horizontal) duct (182).
13. Retaining screws (181) to rear compartment outlet (beltline-horizontal) duct (182) and rear compartment outlet (B-pillar) duct (180).

Tighten
^ Rear compartment outlet duct retaining screws (181) to 3 Nm (27 lb.in.).

^ Route driver's seat belt assembly (166) through LH center pillar/quarter lower trim finish panel (142).
^ Position LH center pillar/quarter lower trim finish panel (142) into vehicle.
14. Body wiring harness connector (143) to rear fan rear control (141).
15. Rear fan - rear control (with ashtray) (141) to LH center pillar/quarter lower trim finish panel (142).
16. LH center pillar/quarter lower trim finish panel retaining screws.

Tighten
^ LH center pillar/quarter lower trim finish panel retaining screws to 2 Nm (18 lb.in.).

^ Position LH body lock pillar trim finish panel (169) into vehicle.
17. LH body lock pillar trim finish panel retaining screws.

Tighten
^ LH body lock pillar trim finish panel retaining screws to 2 Nm (18 lb.in.).

18. LH rear wheelhouse trim finish panel (178).
19. LH quarter upper trim finish panel (174).
20. Seat belt upper anchor bolt (167) to LH body lock pillar with J 29843-9.
21. Seat belt up per anchor bolt (167) to LH center pillar with J 29843-9.

Tighten
^ Seat belt anchor bolts (167) to 42 Nm (31 lb.ft.).

^ Close seat belt guide cover (171) on LH upper second row seat belt guide.
22. Driver's seat belt lower anchor plate onto driver's seat anchor stud and secure with anchor nut.

Tighten
^ Driver's seat anchor nuts to 27 Nm (20 lb.ft.).

23. Second row seat anchor trim plates (163) with retaining nuts (164).

Tighten
^ Rear seat anchor trim plate retaining nuts (164) to 3 Nm (27 lb.in.).

24. Second row seating.
25. LH front side door sill trim plate (160) with retaining screws (161).

Tighten
^ Front side door sill trim piate retaining screws to 2 Nm (18 lb.in.).

^ Move driver's seat to original position.
^ Refill engine coolant.