Operation CHARM: Car repair manuals for everyone.
Manuals through 2025 now available!

Our trusted friends have launched a new website named LEMON, which has newer manuals. It also contains all the CHARM manuals.

LEMON is the spiritual successor to CHARM, I recommend you try it!

Link: lemon-manuals.la or lemon-manuals.org.ua

(Some people have issue connecting. LEMON is investigating. For now, use Firefox or change your DNS server)

Or, hide this message: temporarily or permanently

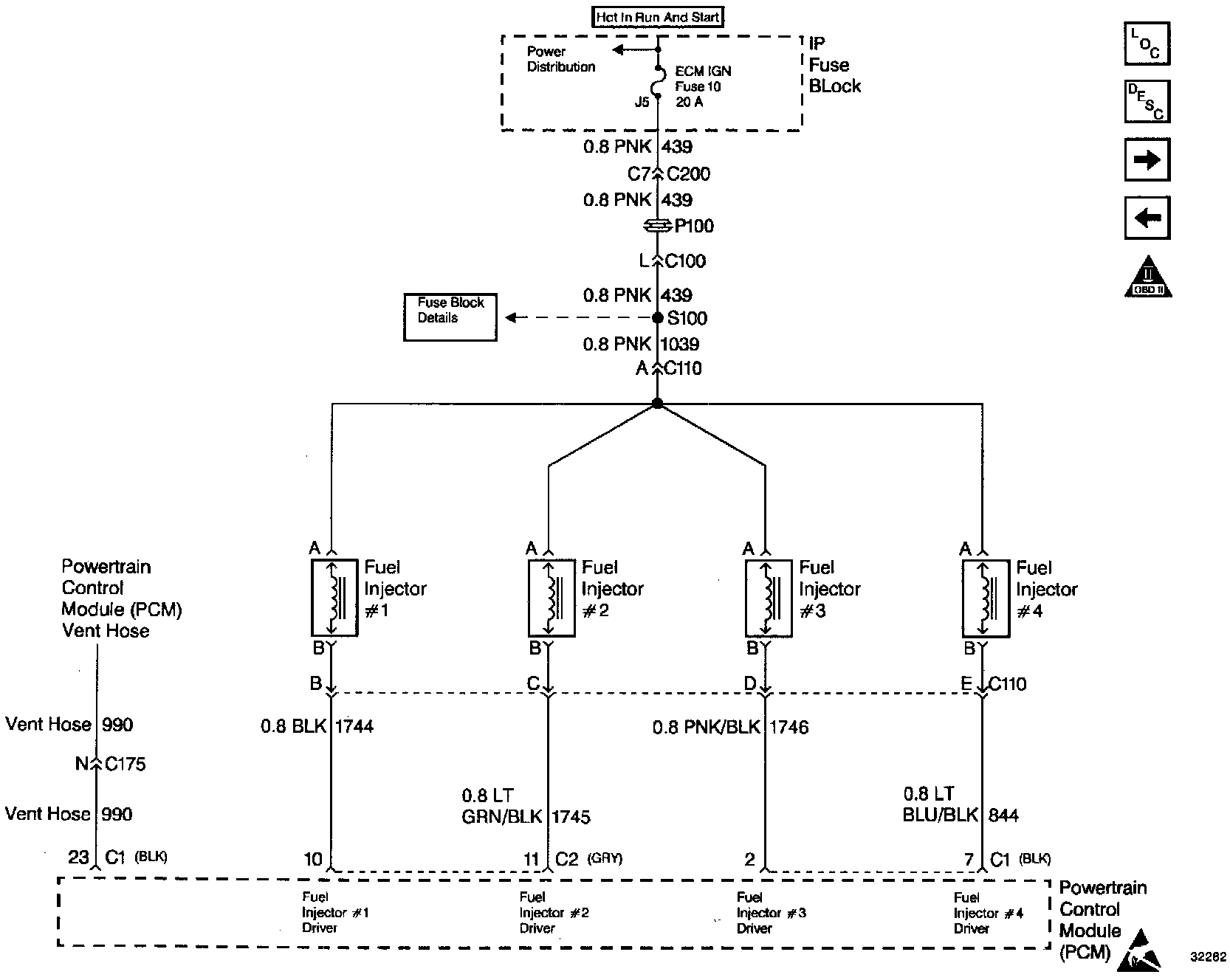
Injector Circuit Diagnosis

Injector Circuit Diagnosis (1 Of 2):




Injector Circuit Diagnosis (2 Of 2):




Engine Controls (Fuel Injectors):






Diagnostic Aids

The Vehicle Control Module (VCM) has integrated circuits that are fault protected; therefore, if a circuit has failed, the integrated circuits may not be damaged. If this the case, the Ignition Control (IC) will keep the circuit open until you have corrected the fault in the circuit. When you have corrected the fault reinstall the VCM. Check the circuit. Replace the VCM only if the circuit is still inoperative.

Test Description

The numbers below refer to the step numbers on the diagnostic table.

2. This step determines if the ignition feed circuit to the injectors are OK.

3. This step determines if the injector control circuits are OK.

5. This step determines if there is an internal VCM short to ground for an injector control circuit.