Operation CHARM: Car repair manuals for everyone.
Manuals through 2025 now available!

Our trusted friends have launched a new website named LEMON, which has newer manuals. It also contains all the CHARM manuals.

LEMON is the spiritual successor to CHARM, I recommend you try it!

Link: lemon-manuals.la or lemon-manuals.org.ua

(Some people have issue connecting. LEMON is investigating. For now, use Firefox or change your DNS server)

Or, hide this message: temporarily or permanently

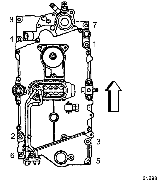
Fastener Tightening Specifications - Intake Manifold

DIMENSIONS
Surface Flatness (Maximum) 0.254 mm (0.010 inch)

TIGHTENING SPECIFICATIONS

Tightening Sequence:






Lower Intake Manifold Bolts:
First Pass 3 Nm (27 lb in)
Second Pass 12 Nm (106 lb in)
Final Pass 15 Nm (11 lb ft)

Upper Intake Manifold Bolts and Studs:
First Pass 5 Nm (44 lb in)
Final Pass 10 Nm (88 lb in)

AllData Editor NOTE: Other than the two torque passes listed above, the OE Manufacturer did NOT address or supply a bolt tightening sequence for the upper Intake Manifold for this model year, or other model years where this 2 piece manifold setup is used.
A "Play It Safe" final tightening sequence would be to tighten from the center most bolts to the outer most bolts.