Operation CHARM: Car repair manuals for everyone.
Manuals through 2025 now available!

Our trusted friends have launched a new website named LEMON, which has newer manuals. It also contains all the CHARM manuals.

LEMON is the spiritual successor to CHARM, I recommend you try it!

Link: lemon-manuals.la or lemon-manuals.org.ua

(Some people have issue connecting. LEMON is investigating. For now, use Firefox or change your DNS server)

Or, hide this message: temporarily or permanently

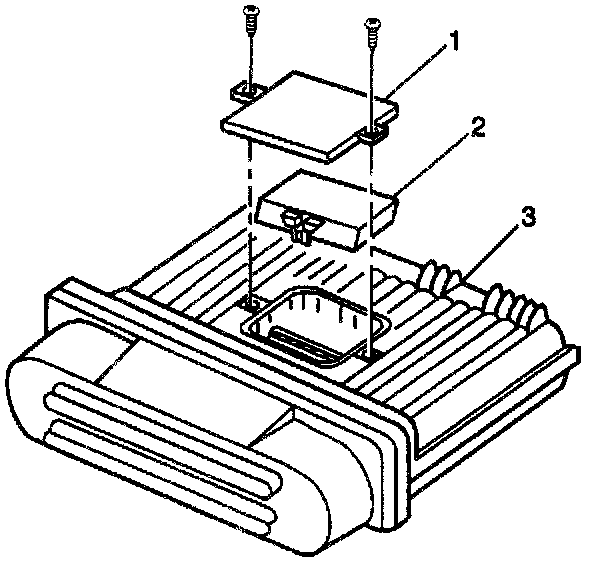
Knock Sensor Module: Description and Operation

Knock Sensor Inside PCM:






Description
The PCM contains a replaceable Knock Sensor (KS) module. The KS module contains the circuitry that allows the PCM to utilize the KS signal and diagnose the KS sensor and circuitry. If the PCM is replaced, the KS module needs to be transferred from the original PCM. If the KS module is missing or faulty causing a continuous knock condition to be indicated, the PCM will set DTC P0325.

The scan tool has four data displays available for diagnosing the KS system. The 4 displays are described as follows:
^ KS Activity is used to monitor the input signal from the knock sensor. This counter will display Yes while knock is being detected.
^ Knock Retard is the indication of how much the PCM is retarding the spark. The PCM will retard spark in response to the Knock signal or the Traction Control system Desired Torque signal.
^ KS Noise Channel indicates the current voltage level being monitored on the noise channel. DTCs P0325, P0326, and P0327 are designed to diagnose the KS module, the knock sensors, and related wiring, so problems encountered with the KS system should set a DTC. However, if no DTC was set but the KS system is suspect because detonation was the customer's complaint, refer to Detonation/Spark Knock in Symptoms. Testing and Inspection