Operation CHARM: Car repair manuals for everyone.
Manuals through 2025 now available!

Our trusted friends have launched a new website named LEMON, which has newer manuals. It also contains all the CHARM manuals.

LEMON is the spiritual successor to CHARM, I recommend you try it!

Link: lemon-manuals.la or lemon-manuals.org.ua

(Some people have issue connecting. LEMON is investigating. For now, use Firefox or change your DNS server)

Or, hide this message: temporarily or permanently

Alignment: Description and Operation

Front wheel alignment refers to the angular relationship between the suspension attaching parts, the wheels, and the ground. Proper alignment is considered essential for efficient steering, good directional stability, and to prevent abnormal tire wear. The most important factors of front wheel alignment are caster, camber, and toe-in.

The trim height is used to determine the correct relationship of the suspension to the chassis. Check the trim heights when you diagnose steering or vibration complaints.

CASTER





Caster is the tilting of the front steering axis either forward or rearward from the (1) vertical. Caster is measured in degrees. A rearward tilt is positive and a forward tilt is negative.

On the short and long arm type of suspension, you can only see the caster angle with a special instrument. If you look straight down from the top of the upper control arm to the ground, the ball joints do not line up fore and aft when a caster angle does not equal 0 degrees. With a positive angle, the lower ball joint would be slightly ahead (toward the front of the vehicle) of the upper ball joint center line.

Incorrect caster results from damage to control arms and to other related front suspension parts.

CAMBER





Camber is the inward or outward tilting of the front wheel from the vertical. When the wheels tilt outward at the top, the camber is positive. When the wheels tilt inward at the top, the camber is negative. The amount of tilt from the vertical is the (1) camber angle. Camber is measured in degrees. Extreme or unequal camber results in improper steering and excessive tire wear. Negative camber causes wear on the inboard side of the tire. Positive camber causes wear to the outboard side of the tire.

TOE-IN





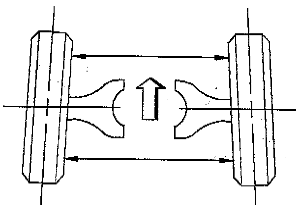
Linear sum toe-in exists when the distance between the front wheels is less at the front of the axle than at the rear of the axle.

Angular toe-in exists when the front wheel center line is not parallel to the forward projected vehicle center line.

The actual amount of toe-in is normally a fraction of a degree. Toe-in is measured from the center of the tire treads or from the inboard side of the tires. The purpose of toe-in is to assure parallel rolling of the front wheels, and to offset small deflections of the wheel support system during forward motion. Incorrect toe-in results in excessive toe-in and unstable steering. Toe-in is the last alignment procedure to be set in front wheel alignment.