Operation CHARM: Car repair manuals for everyone.
Manuals through 2025 now available!

Our trusted friends have launched a new website named LEMON, which has newer manuals. It also contains all the CHARM manuals.

LEMON is the spiritual successor to CHARM, I recommend you try it!

Link: lemon-manuals.la or lemon-manuals.org.ua

(Some people have issue connecting. LEMON is investigating. For now, use Firefox or change your DNS server)

Or, hide this message: temporarily or permanently

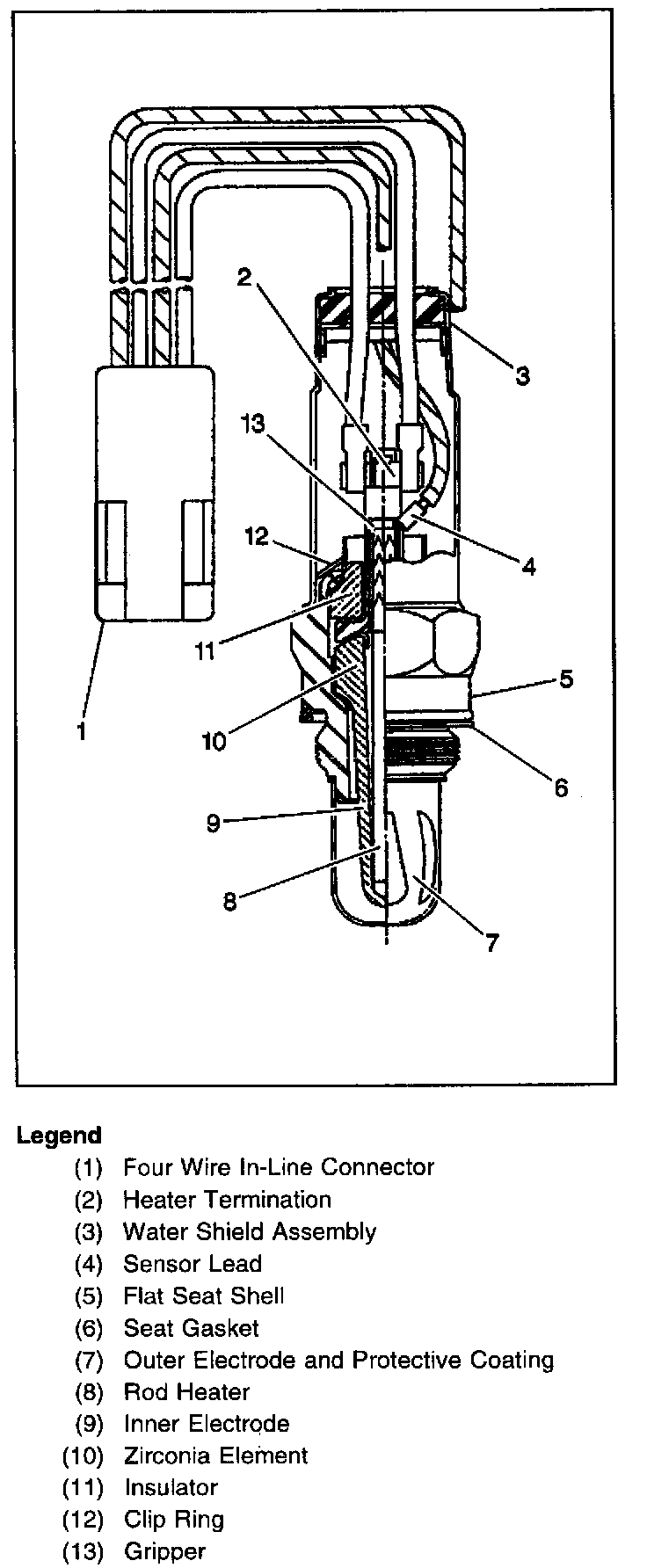
Fuel Control HO2S

Heated Oxygen Sensor (Cutaway View):






DESCRIPTION
The Heated Oxygen Sensors are mounted in the exhaust system where they can monitor the oxygen content of the exhaust gas stream.

OPERATION
The oxygen present in the exhaust gas reacts with the sensor to produce a voltage output. This voltage should constantly fluctuate from approximately 100 mV (high oxygen content - lean mixture) to 900 mV (low oxygen content - rich mixture).

PURPOSE
The heated oxygen sensor voltage can be monitored with a scan tool. By monitoring the voltage output of the oxygen sensor, the VCM calculates what fuel mixture command to give to the injectors (lean mixture - low HO2S voltage = rich command, rich mixture - high HO2S voltage = lean command).

DIAGNOSIS
When the VCM detects an HO2S signal circuit that is low, the VCM will set the following DTCs:

^ DTC P0131 Bank 1 Sensor 1 HO2S

^ DTC P0151 Bank 2 Sensor 1 HO2S

^ DTC P0143 Bank 1 Sensor 3 HO2S

When the VCM detects an HO2S signal circuit that is high, the VCM will set the following DTCs:

^ DTC P0132 Bank 1 Sensor 1 HO2S

^ DTC P0152 Bank 2 Sensor 1 HO2S

^ DTC P0144 Bank 1 Sensor 3 HO2S

When the VCM detects no HO2S activity, the VCM will set the following DTCs:

^ DTC P0134 Bank 1 Sensor 1 HO2S

^ DTC P0154 Bank 2 Sensor 1 HO2S

^ DTC P0146 Bank 1 Sensor 3 HO2S

A fault in the heated oxygen sensor heater element or its ignition feed or ground will result in an increase in time to Closed Loop fuel control. This may cause increased emissions, especially during start-up. When the VCM detects a malfunction in the HO2S heater circuits, the following DTCs will set:

^ DTC P0135 Bank 1 Sensor 1 HO2S heater

^ DTC P0155 Bank 2 Sensor 1 HO2S heater

^ DTC P0147 Bank 1 Sensor 3 HO2S heater

The VCM also has the ability to detect HO2S response, switching, transition time, and incorrect ratio voltage problems. If an HO2S response switching, transition time, or ratio problem is detected, the VCM will store a DTC which indicates degraded an HO2S performance.