Operation CHARM: Car repair manuals for everyone.
Manuals through 2025 now available!

Our trusted friends have launched a new website named LEMON, which has newer manuals. It also contains all the CHARM manuals.

LEMON is the spiritual successor to CHARM, I recommend you try it!

Link: lemon-manuals.la or lemon-manuals.org.ua

(Some people have issue connecting. LEMON is investigating. For now, use Firefox or change your DNS server)

Or, hide this message: temporarily or permanently

Heater Core: Service and Repair

Removal Procedure

1. Disconnect the heater hoses at the heater core.
2. Remove the front floor console.
3. Remove the instrument panel insulators.





4. Remove the heater core outlet cover screws.
5. Remove the heater core outlet cover.





6. Remove the heater core cover screws.
7. Remove the heater core cover.





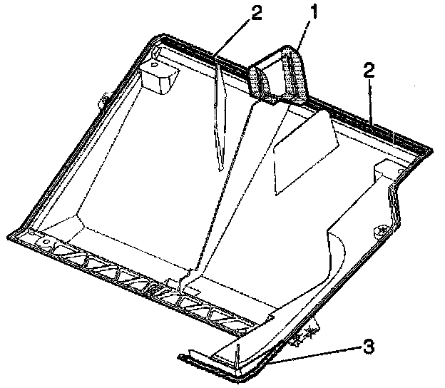
8. Remove and discard the seals (1, 2, 3) from the heater core cover.





9. Remove and discard the heater core outer seal (5) from the heater core.





10. Remove the heater core line clamp screw (1).
11. Remove the heater core retaining clamp.
12. Remove the heater core pipe retainer clamp screw (2).





13. Remove the heater core from the HVAC lower case.





14. Remove and discard the heater core lower seal (4) from the HVAC case.





15. Remove and discard the heater core center seal (3) from the HVAC case.





16. Remove and discard the heater core upper seal (2) from the HVAC lower case.





17. Remove and discard the heater core side seals (1) from the HVAC lower case.

Installation Procedure





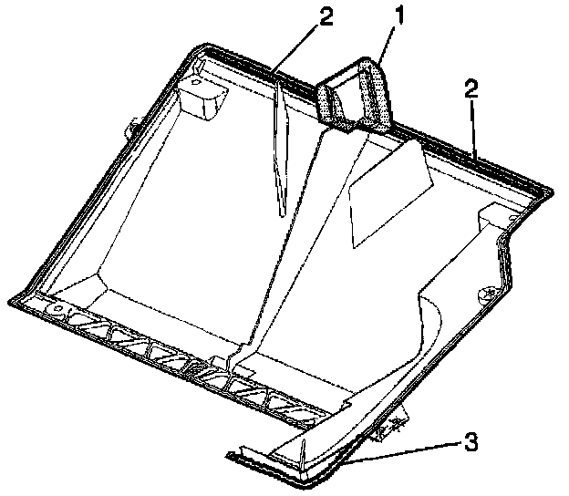
1. Install the heater core side seals (1) from the HVAC lower case.





2. Install the heater core upper seal (2) from the HVAC lower case.





3. Install the heater core center seal (3) from the HVAC case.





4. Install the heater core lower seal (4) from the HVAC case.





5. Install the heater core from the HVAC lower case.





6. Install the heater core line clamp screw (2).

Tighten
^ Tighten the screw to 1.5 Nm (13 lb in).

Install the heater core mounting clip with a screw (1).

Tighten
^ Tighten the screw to 1.5 Nm (13 lb in)





7. Install heater core outer seal (5) to the heater core.





8. Install new seals (1,2,3) to the heater core cover.





9. Install the heater core cover.
10. Install the heater core cover screws.

Tighten
^ Tighten the screws to 1.5 Nm (13 lb in).





11. Install the heater core outlet cover.
12. Install the heater core outlet cover screws.

Tighten
^ Tighten the screws to 1.5 Nm (13 lb in).

13. Install instrument panel insulators.
14. Install the front floor console.
15. Install the heater hoses to the heater core.