Operation CHARM: Car repair manuals for everyone.
Manuals through 2025 now available!

Our trusted friends have launched a new website named LEMON, which has newer manuals. It also contains all the CHARM manuals.

LEMON is the spiritual successor to CHARM, I recommend you try it!

Link: lemon-manuals.la or lemon-manuals.org.ua

(Some people have issue connecting. LEMON is investigating. For now, use Firefox or change your DNS server)

Or, hide this message: temporarily or permanently

Front Camber Adjustment






REMOVAL PROCEDURE
1. Raise the vehicle and provide suitable support.
2. Remove the tire and wheel assemblies. Refer to WHEEL REMOVAL in TIRES AND WHEELS.
3. Remove the strut from the vehicle. Refer to STRUT REPLACEMENT in FRONT SUSPENSION.
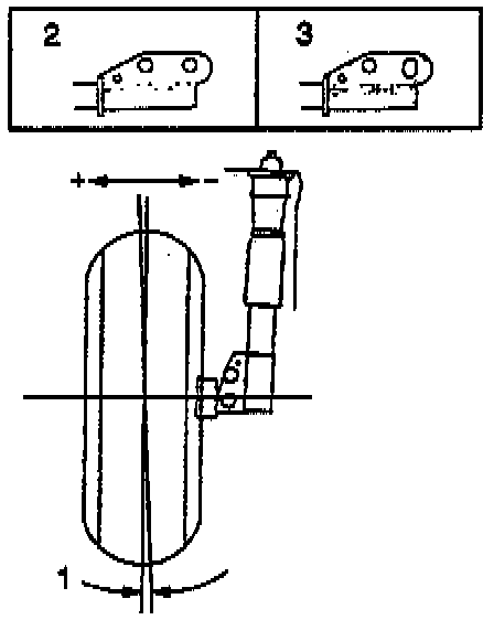
4. Place the strut in a vise and file the lower strut-to-knuckle hole lateral (oblong). Compare the appearance of the holes before filing (2) with after filing (3).

INSTALLATION PROCEDURE

NOTICE: Always use the correct fastener in the proper location. When you replace a fastener, use ONLY the exact part number for that application. The manufacturer will call out those fasteners that require a replacement after removal. The manufacturer will also call out the fasteners that require thread lockers or thread sealant. UNLESS OTHERWISE SPECIFIED, do not use supplemental coatings (paints, greases, or other corrosion inhibitors) on threaded fasteners or fastener joint interfaces. Generally, such coatings adversely affect the fastener torque and joint clamping force, and may damage the fastener. When you install fasteners, use the correct tightening sequence and specifications. Following these instructions can help you avoid damage to parts and systems.

1. Install the strut to the vehicle. Refer to STRUT REPLACEMENT in FRONT SUSPENSION.

Tighten
Tighten the strut-to-knuckle bolts as far as to allow movement of the knuckle.

2. Install the tire and wheel assemblies. Refer to WHEEL INSTALLATION in TIRES AND WHEELS.
3. Adjust the camber (1).

Tighten
Tighten the strut-to-knuckle bolts to 122 Nm (90 ft. lbs.)
4. Lower the vehicle.