Operation CHARM: Car repair manuals for everyone.
Manuals through 2025 now available!

Our trusted friends have launched a new website named LEMON, which has newer manuals. It also contains all the CHARM manuals.

LEMON is the spiritual successor to CHARM, I recommend you try it!

Link: lemon-manuals.la or lemon-manuals.org.ua

(Some people have issue connecting. LEMON is investigating. For now, use Firefox or change your DNS server)

Or, hide this message: temporarily or permanently

Ride/Trim Height Specifications

Trim Height Specifications
Z Dimension: 0
D Dimension: 123 mm (4 27/32 inch)
J Dimension: 237 mm (9 21/64 inch)
K Dimension: 244 mm (9 39/64 inch)

NOTE: All measurements are taken with a full fuel tank. All measurements of D, J, K and Z all have ± 10 mm (3/8 inch).

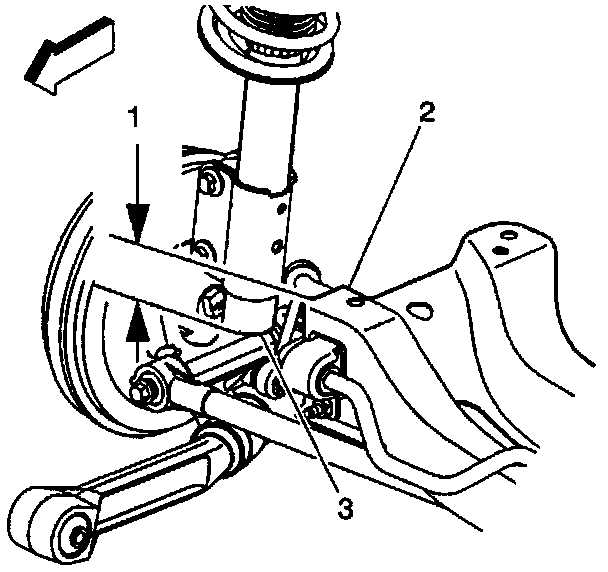
Z Measurement:

Z Measurement:




Measure the Z distance (1) between the frame rail (2) and the parallel off ball joint (3).

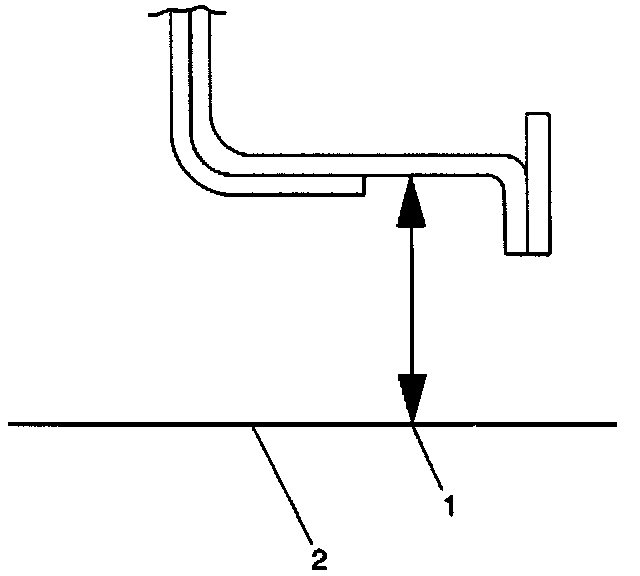
D Measurement:

D Measurement:




Measure the D dimension (1) from the rocker panel to the ground (2).

J,K Measurement:

J,K Measurement:




Where To Measure On The Rocker Panel:




Measure the J,K distance (1,2) from the rocker panel to the ground (2).

Z Measurement:

Z Measurement:




Measure the Z distance (1) between the frame rail (2) and the parallel off ball joint (3).