Operation CHARM: Car repair manuals for everyone.
Manuals through 2025 now available!

Our trusted friends have launched a new website named LEMON, which has newer manuals. It also contains all the CHARM manuals.

LEMON is the spiritual successor to CHARM, I recommend you try it!

Link: lemon-manuals.la or lemon-manuals.org.ua

(Some people have issue connecting. LEMON is investigating. For now, use Firefox or change your DNS server)

Or, hide this message: temporarily or permanently

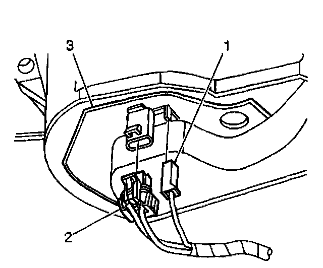
Blower Control Module Replacement - HVAC System - Automatic

REMOVAL PROCEDURE




1. Disconnect the pigtail harness connectors (1 and 2) from the blower motor.




2. Disconnect the electrical connector (4) from the blower motor control module (2).
3. Remove the blower motor control module mounting screws (1).
4. Remove the blower motor control module (2) from the blower case.

INSTALLATION PROCEDURE




1. Install the blower motor control module (2) to the blower case.
2. Install the blower motor control module mounting screws (1).

Tighten
Tighten the screws to 1.9 N.m (17 lb in).

3. Connect the electrical connector (4) to the blower motor control module (2).




4. Connect the pigtail harness connectors (1 and 2) to the blower motor.