Operation CHARM: Car repair manuals for everyone.
Manuals through 2025 now available!

Our trusted friends have launched a new website named LEMON, which has newer manuals. It also contains all the CHARM manuals.

LEMON is the spiritual successor to CHARM, I recommend you try it!

Link: lemon-manuals.la or lemon-manuals.org.ua

(Some people have issue connecting. LEMON is investigating. For now, use Firefox or change your DNS server)

Or, hide this message: temporarily or permanently

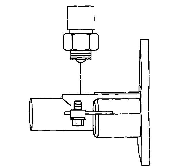
Indicator Switch Replacement

Four-Wheel Drive Indicator Switch
Replacement


Removal Procedure





1. Raise the vehicle. Refer to Vehicle Lifting.
2. Remove the front differential carrier shield (if equipped).





3. Disconnect the electrical harness from the four-wheel drive indicator switch.





4. Remove the four-wheel drive indicator switch.

Installation Procedure

Notice: Refer to Fastener Notice in Service Precautions.





1. Install the four-wheel drive indicator switch.
Tighten the four-wheel drive indicator switch to 5 Nm (44 inch lbs.).





2. Install the electrical harness from the four-wheel drive indicator switch.
3. Install the front differential carrier shield (if equipped).
4. Lower the vehicle.