Operation CHARM: Car repair manuals for everyone.
Manuals through 2025 now available!

Our trusted friends have launched a new website named LEMON, which has newer manuals. It also contains all the CHARM manuals.

LEMON is the spiritual successor to CHARM, I recommend you try it!

Link: lemon-manuals.la or lemon-manuals.org.ua

(Some people have issue connecting. LEMON is investigating. For now, use Firefox or change your DNS server)

Or, hide this message: temporarily or permanently

Main Cap Bolt Hole Thread Repair

Main Cap Bolt Hole Thread Repair

- Tools Required
- J 42385-600 Thread Repair Kit
- J 42385-300 Fixtures and Hardware Kit





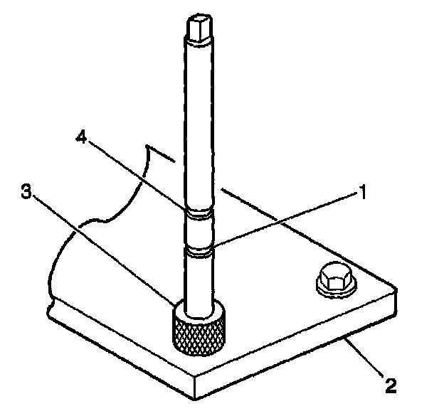
1. The main cap bolt hole thread repair kit J 42385-600 and J 42385-300 consists of the following items:
- Drill (1)
- Tap (2)
- Installer (3)
- Fixture plate (4)
- Long bolts (5)
- Short bolts (6)
- Alignment pin (7)
- Bushing (8)

Caution: Refer to Safety Glasses Caution in Service Precautions.

Important: The use of a cutting type fluid GM P/N United States 1052864, GM P/N Canada 992881, WD 40 (R), or equivalent is recommended when performing the drilling and tapping procedures.

Driver oil MUST be used on the installer driver tool.
The tool kits are designed for use with either a suitable tap wrench or drill motor.





2. Install the fixture plate, bolt, and bushing, onto the engine block.
Position the fixture plate and bushing over the hole that is to be repaired.
3. Position the alignment pin in the desired hole and tighten the fixture bolts.

Important: During the reaming process, it is necessary to repeatedly remove the drill and clean the chips from the hole.

4. Drill out the damaged hole. Drill until the stop collar of the drill bit or the sleeve contacts the bushing.

Important: All chips must be removed from the hole prior to tapping.





5. Using compressed air, clean out any chips.





6. Using the tap (4) and wrench, tap the threads of the drilled hole.

Important: All chips must be removed from the tapped hole prior to insert installation.





7. Using compressed air, clean out any chips.





8. Spray cleaner GM P/N United States 12346139, or equivalent into the hole.

Important: All chips must be removed from the tapped hole prior to insert installation.





9. Using compressed air, clean any cutting oil and chips out of the hole.

Important: Do not allow oil or other foreign material to contact the outside diameter (OD) of the insert.





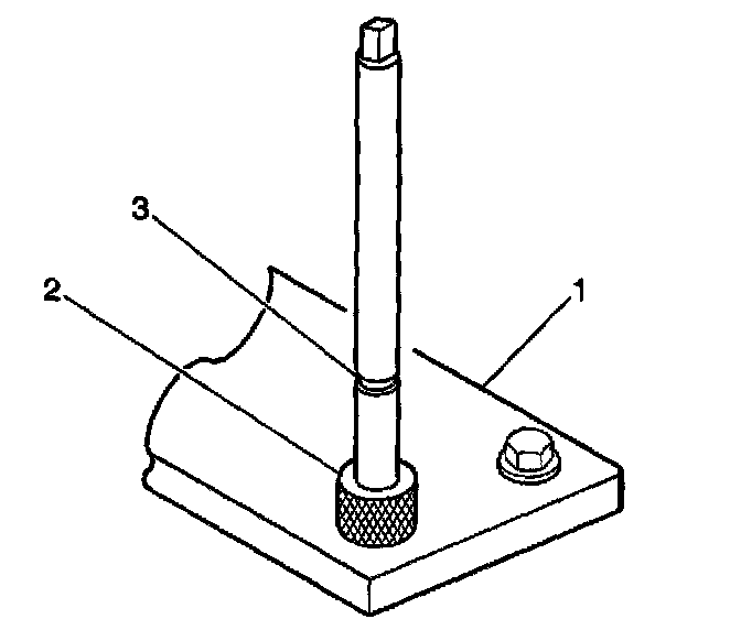
10. Lubricate the threads of the installer tool (2) with the driver oil (1).





11. Install the insert (2) onto the driver tool (1).





12. Apply threadlock Loctite (R) 277, J 42385-109 (1), or equivalent to the insert OD threads (2).

Important: The fixture plate and bushing remains installed onto the engine block during the insert installation procedure.

Important: The driver installation tool will tighten up before screwing completely through the insert. This is acceptable. The threads at the bottom of the insert are being formed and the insert is mechanically locking the insert into the base material threads.





13. Install the insert and driver (1) through the fixture plate and bushing and into the hole.
Rotate the driver tool until the mark on the tool (3) aligns with the top of the bushing (2).