Operation CHARM: Car repair manuals for everyone.
Manuals through 2025 now available!

Our trusted friends have launched a new website named LEMON, which has newer manuals. It also contains all the CHARM manuals.

LEMON is the spiritual successor to CHARM, I recommend you try it!

Link: lemon-manuals.la or lemon-manuals.org.ua

(Some people have issue connecting. LEMON is investigating. For now, use Firefox or change your DNS server)

Or, hide this message: temporarily or permanently

Thread Repair

Thread Repair

- Tools Required
- J 42385-200 Common Thread Repair Kit
- J 43965 Thread Repair Extension Kit





The thread repair process involves a solid, thin walled, self-locking, carbon steel, bushing type insert. During the insert installation process, the installation driver tool cold-rolls the bottom internal threads and expands the bottom external threads of the insert into the base material. This action mechanically locks the insert into place.
The tool kit J 42385-200 is designed for use with either a suitable tap wrench or drill motor. Limited access and larger hole repair may process better using a tap wrench. An extension J 43965 may also be necessary to drive the thread repair tooling dependent on access to the hole being repaired.





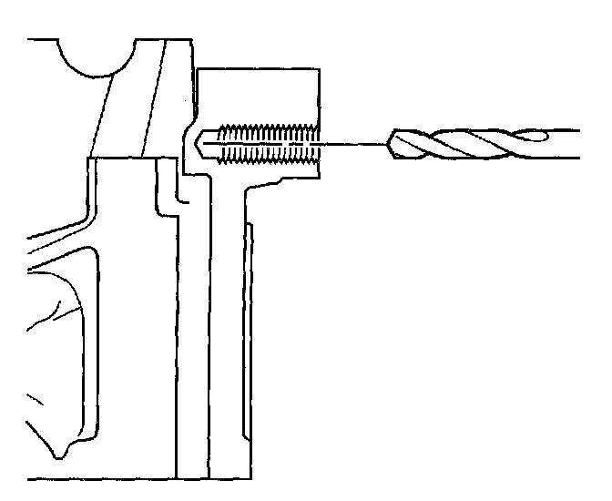
It is critical that the drilling, counterboring and tapping of the hole to be repaired follows the same centerline as the original hole.





During the drilling and tapping of the hole being repaired ensure the tooling is consistently machining perpendicular to the surface of the base material.