Operation CHARM: Car repair manuals for everyone.
Manuals through 2025 now available!

Our trusted friends have launched a new website named LEMON, which has newer manuals. It also contains all the CHARM manuals.

LEMON is the spiritual successor to CHARM, I recommend you try it!

Link: lemon-manuals.la or lemon-manuals.org.ua

(Some people have issue connecting. LEMON is investigating. For now, use Firefox or change your DNS server)

Or, hide this message: temporarily or permanently

Procedures

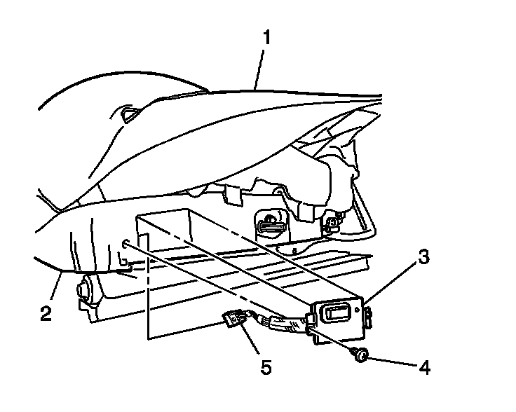
SEAT SWITCH REPLACEMENT - POWER

REMOVAL PROCEDURE




1. Adjust the front bucket seat to the full up position in order to gain access to the power seat switch (3).
2. With a flat-bladed tool remove the bezel (1) from the switch (3).




3. Unfasten the cushion cover (1) J-hook retainer to gain access to the switch (3).
4. Remove the switch bracket screw (4).
5. Remove the switch (3) from the seat cushion frame (2).
6. Disconnect the electrical connector (5) from the switch (3).

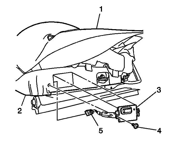
INSTALLATION PROCEDURE




1. Connect the electrical connector (5) to the switch (3).
2. Position the switch (3) to the seat cushion frame (2).
3. Install the power seat switch bracket screw (4).

NOTE: Refer to Fastener Notice in Service Precautions.

Tighten
Tighten the screw to 5 N.m (44 lb in).

4. Adjust the seat cushion cover (1) to a desired appearance.
Fasten the cushion cover (1) J-hook retainer.




5. Align the bezel (1) to the switch (3).
Press the bezel (1) into place until fully seated.
6. Adjust the seat to the original position.