Operation CHARM: Car repair manuals for everyone.
Manuals through 2025 now available!

Our trusted friends have launched a new website named LEMON, which has newer manuals. It also contains all the CHARM manuals.

LEMON is the spiritual successor to CHARM, I recommend you try it!

Link: lemon-manuals.la or lemon-manuals.org.ua

(Some people have issue connecting. LEMON is investigating. For now, use Firefox or change your DNS server)

Or, hide this message: temporarily or permanently

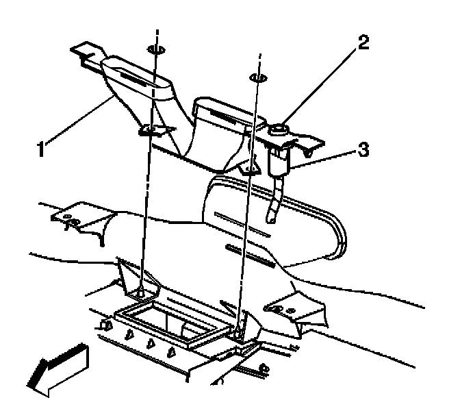
Ambient Light Sensor: Service and Repair

DAYTIME RUNNING LAMPS (DRL) AMBIENT LIGHT SENSOR REPLACEMENT

REMOVAL PROCEDURE




1. Pull back the instrument panel (I/P) far enough to gain access to the ambient light sensor (2). Refer to Trim Pad Replacement - Instrument Panel (I/P) in Instrument Panel, Gages, and Console.
2. Rotate the ambient light sensor a 1/4-turn to release the sensor from the defrost duct (1).
3. Disconnect the electrical connector (3) from the ambient light sensor.
4. Remove the ambient light sensor.

INSTALLATION PROCEDURE




1. Connect the electrical connector (3) to the ambient light sensor (2).
2. Install the ambient light sensor to the defrost duct (1). Rotate the sensor 1/4-turn to secure.
3. Install the I/P.