Operation CHARM: Car repair manuals for everyone.
Manuals through 2025 now available!

Our trusted friends have launched a new website named LEMON, which has newer manuals. It also contains all the CHARM manuals.

LEMON is the spiritual successor to CHARM, I recommend you try it!

Link: lemon-manuals.la or lemon-manuals.org.ua

(Some people have issue connecting. LEMON is investigating. For now, use Firefox or change your DNS server)

Or, hide this message: temporarily or permanently

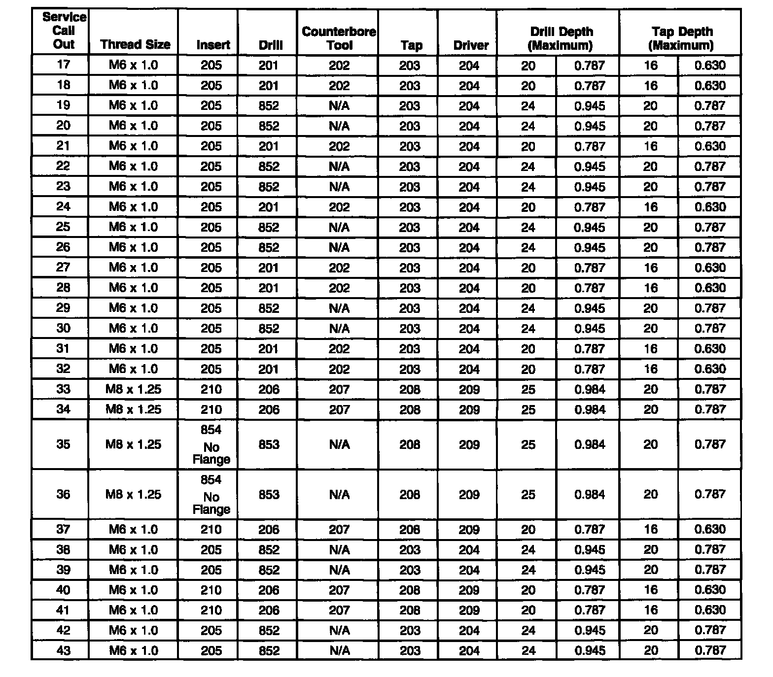
Thread Repair Specifications

Thread Repair Specifications








Engine Block - Front View





Engine Block - Back View





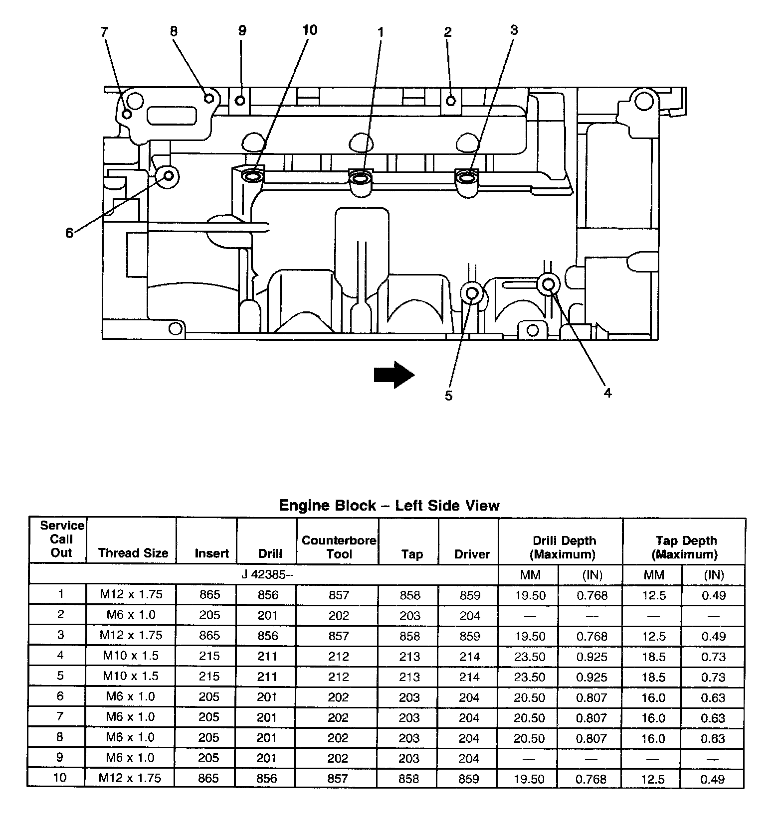
Engine Block - Left Side View








Engine Block - Bottom View





Engine Block - Right Side View





Engine Block - Top View





Lower Crankcase - Front View





Lower Crankcase - Back View





Lower Crankcase - Bottom View





Lower Crankcase - Left View





Lower Crankcase - Right View








Cylinder Head - Top View





Cylinder Head - Intake Manifold Deck View





Cylinder Head - Exhaust Manifold Deck View





Cylinder Head - Front View





Cylinder Head - Back View

Note: 1, 2, 5, 6 holes are oil passages.





Cylinder Head - Bottom View