Operation CHARM: Car repair manuals for everyone.
Manuals through 2025 now available!

Our trusted friends have launched a new website named LEMON, which has newer manuals. It also contains all the CHARM manuals.

LEMON is the spiritual successor to CHARM, I recommend you try it!

Link: lemon-manuals.la or lemon-manuals.org.ua

(Some people have issue connecting. LEMON is investigating. For now, use Firefox or change your DNS server)

Or, hide this message: temporarily or permanently

Ignition Switch: Service and Repair

IGNITION SWITCH REPLACEMENT

REMOVAL PROCEDURE
1. Disconnect the negative battery cable.
2. Remove the radio.
3. Remove the instrument panel (I/P) cluster.




4. Remove the screws from the ignition switch bracket.




5. Reposition the ignition switch to the cluster opening for access.
6. Remove the bolts which secure the ignition switch to the bracket.




7. Remove the bracket.




8. Insert the key and turn the lock cylinder to the ON/RUN position.




9. Depress the transaxle park/lock cable retainer to release the cable. Pull the park/lock cable away from the ignition switch.
10. Remove the lock cylinder from the ignition switch:
10.1. Depress and hold the ignition lock cylinder detent.
10.2. Turn the key to the ON/RUN position.
10.3. Pull the ignition lock cylinder out with the key.




11. Disconnect the Passlock electrical connector from the ignition switch.

IMPORTANT: Remove the lock cylinder before you remove the Passlock electrical connector.




12. Disconnect the electrical connectors from the ignition switch.




13. Remove the ignition switch through the I/P cluster opening.




14. If the lock cylinder does not rotate or is seized, perform the following procedure:
14.1. Protect the immediate work area with suitable material, such as clean shop towels or a clean fender cover.
14.2. Locate the surface for the release button (2) on the plastic ignition switch housing, and center punch a location (1) on the rib 9.5 mm (3/8 in) rearward, toward the key entry end, from the cylinder release button.
14.3. Use an 1/8-inch drill bit and carefully drill a pilot hole through the plastic housing.
14.4. Use a 9/32-inch drill bit and carefully drill a larger hole at the pilot location, slightly into the lock cylinder surface, to break the release button retaining spring.
14.5. Remove portions of the broken spring from the hole using a small suitable tool.
14.6. Grasp the lock cylinder and remove the cylinder from the switch housing.
14.7. Remove any plastic flashing from the drilling operation, and using compressed air, blow out the ignition switch assembly.
14.8. Follow the service manual procedures when cylinder coding is required.

INSTALLATION PROCEDURE
1. If the lock cylinder would not rotate or was seized, perform the following procedure:
1.1. Install the new lock cylinder as required by rotating both the cylinder and the ignition switch to the ON/RUN position.
1.2. Push the lock cylinder into the ignition switch housing until the cylinder is fully seated.
1.3. Slightly depress the release button as the cylinder passes by the 9/32-inch hole previously drilled in the ignition switch housing.




2. Position the ignition switch into position through the I/P cluster opening.
3. Connect the electrical connectors to the ignition switch.




4. Connect the Passlock electrical connector to the ignition switch.




5. Connect the park/lock cable to the ignition switch.




6. Position the bracket to the ignition switch.




7. Install the ignition switch bolts.

NOTE: Refer to Fastener Notice in Service Precautions.

Tighten
Tighten the bolts to 10 Nm (89 lb in).




8. Insert the key and turn the lock cylinder to the ON/RUN position.
9. Install the lock cylinder to the switch.




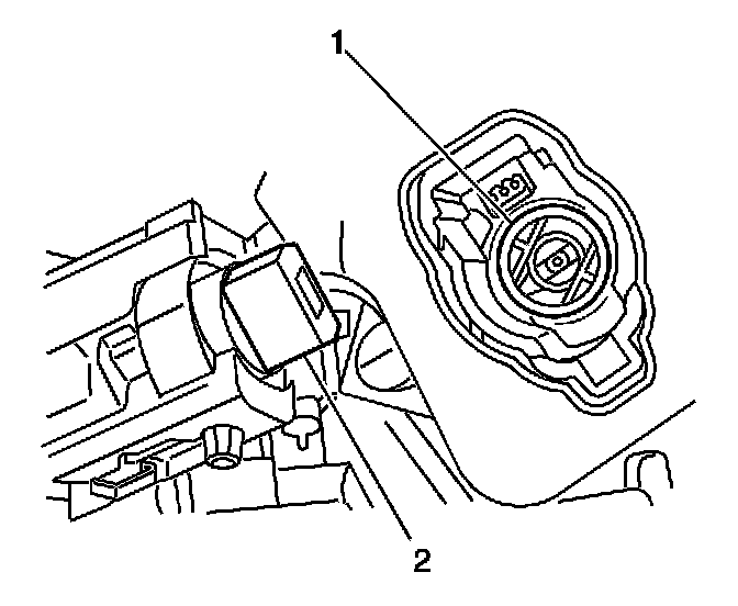
10. If you turned the key slightly while removing the lock cylinder, you may have to align the white colored ignition switch rotor (1) with the lock cylinder (2). You can rotate the ignition switch rotor (1) with your finger.
11. Remove the key from the lock cylinder.




12. Position the ignition switch to the switch opening.
13. Install the ignition switch bracket screws.

Tighten
Tighten the screws to 2 Nm (18 lb in).

14. Install the I/P cluster.
15. Connect the negative battery cable.
16. Perform the Passlock learn procedure. Service and Repair