Operation CHARM: Car repair manuals for everyone.
Manuals through 2025 now available!

Our trusted friends have launched a new website named LEMON, which has newer manuals. It also contains all the CHARM manuals.

LEMON is the spiritual successor to CHARM, I recommend you try it!

Link: lemon-manuals.la or lemon-manuals.org.ua

(Some people have issue connecting. LEMON is investigating. For now, use Firefox or change your DNS server)

Or, hide this message: temporarily or permanently

System Tests

Fig. 1 Tachymetric relay by-pass harness:





1. Disconnect connector from the electronic control box.
2. Connect tachymetric relay by-pass harness 8.0141 P, Fig. 1, to fuel pump tachymetric relay and activate it.



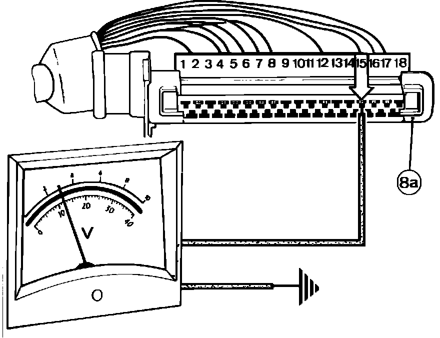
Fig. 3 ECU connector pin # 8:




Fig. 35 ECU relay:





3. Check voltage between pin #8 of connector (8a), Fig. 3, and ground. Voltage reading should be 12 volts.
4. If reading = 0 volts, check connections and continuity of wire 148 and operation of the electronic control box relay (23), Fig. 35.



Fig. 4 ECU connector pin # 15:




Fig. 5 Frequency valve connector voltage test hookup:





5. Check voltage on the output side of the frequency valve. Test to be made at pin #15 of connector (8a), Fig. 4, wire 152A. If reading = 0 volts, check the frequency valve connector (3), Fig. 5, for current at pin (a).



Fig. 6 Frequency valve winding test:





6. If voltage at pin (a) wire 152 = 12 volts, check the windings of the frequency valve (3) using the test harness 8.0141 BH, Fig. 6. Resistance of the windings should be 2 to 3 ohms.
7. If voltage at pin (a) wire 152 = 0 volts check operation of the electronic control box relay (23), Fig. 35.



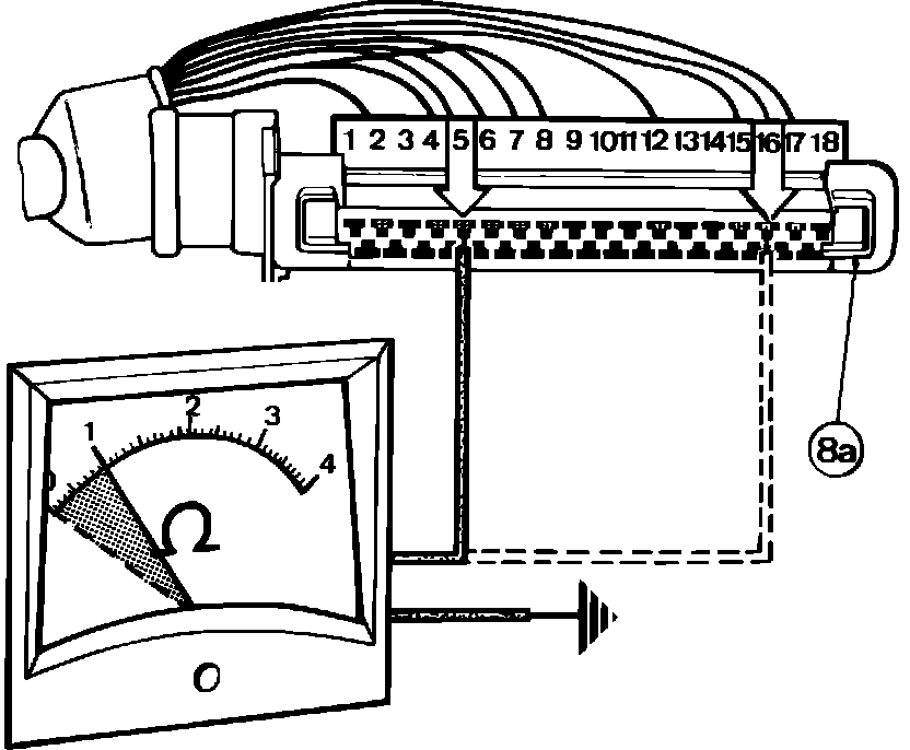
Fig. 7 ECU connector pins # 5, 16:





8. Check the connections between the electronic control box and vehicle ground. Test between pin #5 of the connector (8a) wire MS and vehicle ground, Fig. 7, resistance should be less than 1 ohm. Test between pin # 16 of the connector (8a) wire M16 and the vehicle ground, Fig. 7, resistance should be less than 1 ohm.