Operation CHARM: Car repair manuals for everyone.
Manuals through 2025 now available!

Our trusted friends have launched a new website named LEMON, which has newer manuals. It also contains all the CHARM manuals.

LEMON is the spiritual successor to CHARM, I recommend you try it!

Link: lemon-manuals.la or lemon-manuals.org.ua

(Some people have issue connecting. LEMON is investigating. For now, use Firefox or change your DNS server)

Or, hide this message: temporarily or permanently

Automatic Transmission/Transaxle: Adjustments

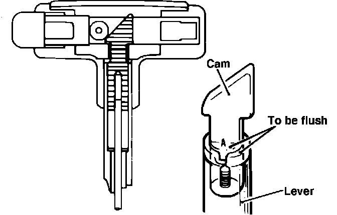
Fig. 5 Selector rod adjusting cam adjustment. Except 1984-86 Ram 50:





Gearshift Linkage, Adjust

Rod adjusting nut or cam at top end of selector lever assembly should be so adjusted so that nut will be flush with bottom of lever slot when selector lever is in Neutral position, on all except 1984-86 Ram 50, Fig. 5.


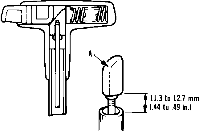
Fig. 6 Adjusting selector rod adjusting cam. 1984-86 Ram 50:





On 1984-86 Ram 50 models, place selector lever in Neutral position, then rotate rod adjusting cam until push button and cam are flush, Fig. 6. Clearance between top of selector lever and lower surface of cam should be .44-.49 inch, Fig. 6.


Fig. 7 Gearshift linkage, except 1984-86 Ram 50:




Fig. 8 Gearshift linkage. 1984-86 Ram 50:





With selector lever in the Neutral position, raise vehicle and loosen control arm locknut, Figs. 7 and 8. Move transmission lever three detents from Low position to place transmission in Neutral. While holding selector lever in position, adjust control rod length, then tighten locknut.



Fig. 9 Throttle rod adjustment:





Throttle Linkage, Adjust

1. Warm up engine until it reaches normal operating temperature. With automatic choke off fast idle cam, adjust engine idle speed to specifications. Then adjust throttle rod using the following procedure:
a. Install each link. Loosen bolts so that rods B and C can slide properly. Refer to Fig. 9.
b. Lightly pushrod A or throttle lever and rod C toward idle stopper and set rods to idle position. In this position, automatic choke must be fully released. Tighten bolt securely to connect rods B and C.
c. Ensure that when carburetor throttle valve is wide open, the transmission throttle lever moves smoothly from idle to wide open position and that there is some play in the lever stroke.



Fig. 10 Kickdown band adjustment:





Kickdown Band, Adjust

The kickdown band adjusting screw is located on the left side of the transmission case, Fig. 10.
1. Loosen locknut, then back off adjusting screw approximately 5 turns.
2. If wrench C-3380-A and adapter C3705 are used, tighten band adjusting screw to 4.3 ft-lbs. If adapter C-3705 is not used, tighten adjusting screw to 5.8 ft-lbs.
3. Back off adjusting screw 3-1/2 turns, then while holding adjusting screw in this position, tighten locknut to 30-41 ft-lbs.



Fig. 11 Low/reverse band adjustment:





Low & Reverse Band, Adjust

1. Raise and support front of vehicle, then drain transmission fluid and remove transmission oil pan.
2. Remove locknut, then tighten adjusting screw to 3.6 ft-lbs., Fig. 11.
3. Back off adjusting screw 7 turns, then while holding adjusting screw in this position, install and tighten locknut to 25-35 ft-lbs.
4. Install oil pan and gasket, then torque oil pan attaching bolts to 11-14 ft-lbs.
5. Add Dexron or Dexron II type fluid to transmission, refer to maintenance procedures.



Fig. 12 Throttle pressure adjustment:





Throttle Pressure, Adjust

Throttle pressure cannot be tested accurately, therefore adjustment should be measured if a malfunction is evident.
1. Insert gauge pin of Tool C-3763 between throttle lever cam and kickdown lever.
2. By pushing in on tool, compress kickdown valve against its spring so throttle valve is completely bottomed inside the valve body.
3. As force is exerted to compress spring, turn throttle lever stop screw with Allen wrench until head of screw touches throttle lever tang with throttle lever cam touching tool and the throttle valve bottomed, Fig. 12. Ensure adjustment is made with spring fully compressed and valve bottomed in valve body.



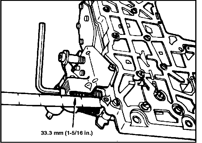
Fig. 13 Line pressure adjustment:





Line Pressure, Adjust

An incorrect throttle pressure setting will cause incorrect line pressure readings even though the pressure adjustment is correct. Always inspect and correct throttle pressure adjustment before adjusting line pressure.
The approximate adjustment is 1-5/16 inch, measured from valve body to inner edge of adjusting nut, Fig. 13. However, due to manufacturing tolerances, the adjustment can be varied to obtain specified line pressure.
The adjusting screw may be turned with an Allen wrench. One complete turn of adjusting screw changes closed throttle line pressure approximately 1-2/3 psi. Turning adjusting screw counterclockwise increases pressure and clockwise turn decreases pressure.