Operation CHARM: Car repair manuals for everyone.
Manuals through 2025 now available!

Our trusted friends have launched a new website named LEMON, which has newer manuals. It also contains all the CHARM manuals.

LEMON is the spiritual successor to CHARM, I recommend you try it!

Link: lemon-manuals.la or lemon-manuals.org.ua

(Some people have issue connecting. LEMON is investigating. For now, use Firefox or change your DNS server)

Or, hide this message: temporarily or permanently

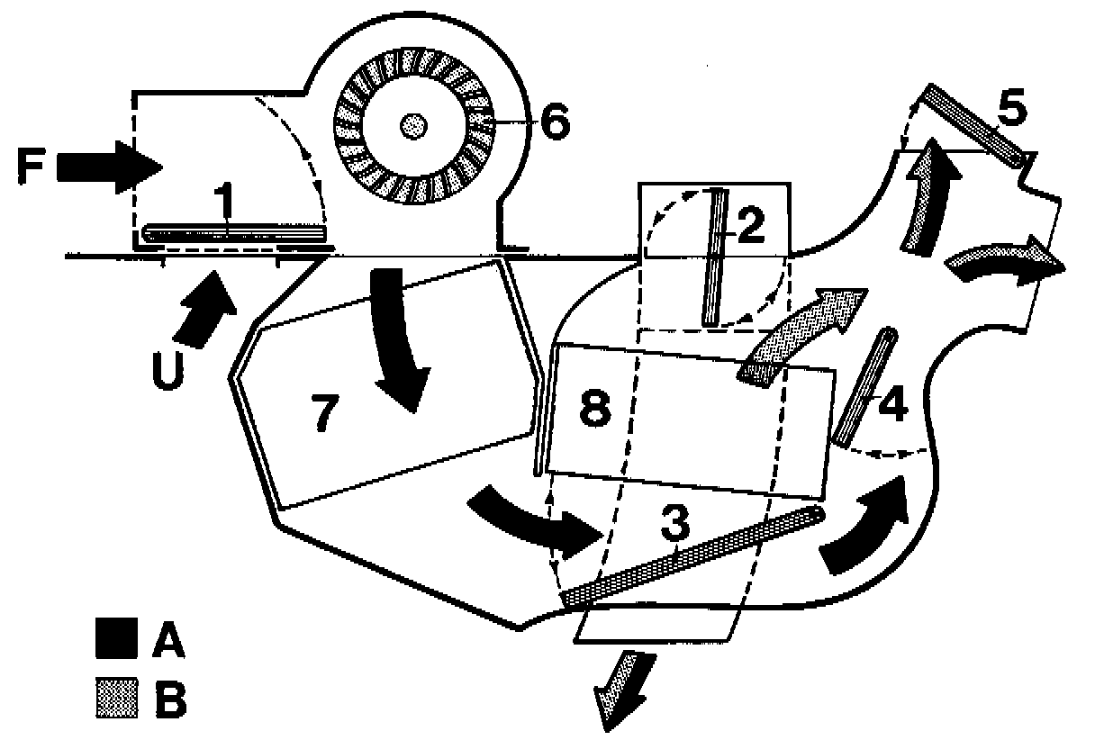
Air Door, HVAC




POSITIONING OF FLAPS, AIR FLOW





A - Cold air
B - Warm air
F - Fresh air
U - Circulating air

1 - Fresh/circulating air flap
2 - Footwell flap
3 - Temperature-mixing flap
4 - Baffle flap
5 - Defrost flap
6 - Blower
7 - Vaporizer
8 - Heat exchanger