Operation CHARM: Car repair manuals for everyone.
Manuals through 2025 now available!

Our trusted friends have launched a new website named LEMON, which has newer manuals. It also contains all the CHARM manuals.

LEMON is the spiritual successor to CHARM, I recommend you try it!

Link: lemon-manuals.la or lemon-manuals.org.ua

(Some people have issue connecting. LEMON is investigating. For now, use Firefox or change your DNS server)

Or, hide this message: temporarily or permanently

Replacing Steering Lock




Replacing steering lock










Component Overview

Removing steering lock procedure

1. Remove ignition key. Disconnect the battery ground cable and cover terminal or battery.
2. Remove steering wheel. Refer to Removing and installing steering wheel (airbag). Observe the safety regulations for handling airbag units.





3. Undo and remove the trim elements.
4. Remove steering column switch. To do this, undo the central screw on the clamp of the steering column switch. Disconnect electrical plug connection and remove steering column switch with airbag contact unit.
5. Remove instrument cluster (instrument mount). To do this:





- Switch on the hazard warning light switch (button comes out).
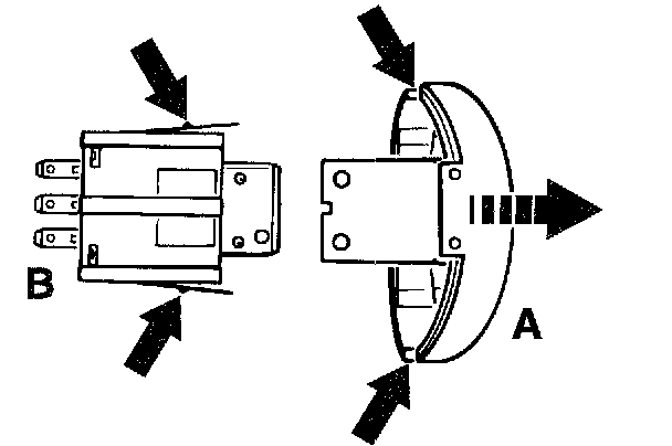
There are small openings on the sides of the button which now project over the instrument cowl. Insert two small screwdrivers into the openings and use them to pull off the button (A) toward the front.





- The hazard warning light switch (B) is held in the instrument bridge by two locking hooks. Press the right locking hook toward the switch, grip the button holder with a pair of pliers and pull out the switch toward the front. Pull off plug on the left side and undo the 5.0 x 22 Torx screws. Lift the instrument cluster at the left and right and unclip; disconnect electrical plug connections. If the vehicle is equipped with a "handsfree telephone", disconnect the microphone plug connection instead of the dummy plug.
6. Pull cover (collar) off the steering lock.
7. Remove steering column cover (undo Torx screws, unclip the cover and lift it off).





8. Detach support of steering lock on the assembly (arrow). The support is fastened with a screw. The side nozzle must be removed to allow access to this screw. This procedure is almost identical to the procedure - "Removing and installing main light switch". The difference here is that the electrical plug connection of the main light switch does not need to be disconnected.





9. Undo steering lock fastening screw A. Unlock steering lock on the steering column (press spring-loaded pin B with a scriber) and simultaneously pull the steering lock out of the steering column.





10. On Tiptronic vehicles, remove (disengage) the keylock cable from the steering lock housing. First turn ignition key to position "1" (ignition on).
11. Pull plug off ignition switch. Carefully unlock and disconnect the plug connection on the lock barrel (at the induction coil for the immobilizer).





12. Unlock the electrical plug connection on the signal converter from above and disconnect. Unclip the electrical wire on the steering lock housing.
13. Remove steering lock from the vehicle.

Installing steering lock procedure

1. Fit the steering lock in the vehicle with the locking pin in unlocked position (ignition steering lock position 1)

Note If necessary, first modify the lock barrel (use previous lock barrel) or modify the key head (handheld transmitter). This makes it unnecessary to teach the transponder (refer to Installation, step 11).

2. Align steering lock housing; the peg of the steering lock must engage easily. Tighten fastening screws.





3. On Tiptronic vehicles, join the keylock cable with the steering lock (in steering lock position 1). To do this, line up the pusher on the keylock cable with the steering lock and insert (press in) in this position until the connection nipple engages on the steering lock housing. (Selector lever not in position "P".) Then select position "P" and subsequently turn steering lock to position "0".

Note If the steering lock cannot be turned to position "0", this may be due to the following:
^ Pusher of keylock cable not correctly fitted on the steering lock
^ Keylock cable not correctly fitted on the selector console
^ Defective parts (replace if necessary).

The keylock cable is not adjustable. However, the following procedure (mounting instructions) must be followed when mounting on the selector console.

Instructions for mounting keylock cable on the selector lever
- Turn ignition key to position "Y (ignition on) and move selector lever to position U".
- Engage nipple (1) of the cable in the keylock lever (2) of the selector console.
- Insert housing adjustment device (3) in the selector console housing until the clip (4) engages.
- Press cable sleeve (5) toward the selector console (6).
- Release cable and press locking button (7) until it engages.





- Check keylock function:
Insert ignition key and turn to position 1 (ignition on). Move selector lever from "P" to "D". Turn ignition key counter-clockwise.
It must not be possible to reach the pull-out position. Then release key again and move selector lever to position "P".
In this position, it must be possible to remove the ignition key and the selector lever button must be locked.
4. Push plugs onto induction coil, lock barrel, ignition starting switch and onto the signal converter.
5. Steering lock function (perform locking pin function and keylock function tests).





6. Insert steering column cover from below, position and fasten (with Torx screws).








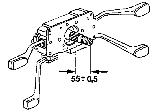
7. Install steering column switch and airbag contact unit with the associated covers. Position the steering column switch before tightening the fastening screw. To do this, measure with a depth gauge between the end of the steering shaft and the sheetmetal cover of the steering column switch. Adjusting dimension 55 ± 0.5 mm
The adjusting dimension 55 ± 0.5 mm can also be adjusted or measured with the airbag contact unit fitted.





8. Install the instrument cluster.
Connect the electrical plug connection on the instrument cluster. Push in the instrument cluster at the left and right and clip into place; fasten it with the Torx screws 5.0 x 22. Press in the hazard warning light switch and fit the plug on the left side. In the version with "telephone with handsfree unit", plug in the microphone plug instead and engage the microphone in position.
9. Install side nozzle and main light switch.
10. Install steering wheel and airbag unit. Observe the safety regulations for handling airbag units.
11. Connect battery ground cable. Perform function test.
12. If a new transponder (new lock barrel with new key) is used, the new key must be taught.

Note The transponder is located in the key head. The new transponder is taught with the Porsche System Tester 2. A new transponder can be adapted to the vehicle in the system "Alarm system", menu "Learning functions"/sub menu "Transponder key". Access to IPAS is necessary in order to teach the transponder.





The transponder does not have to be taught if:
- The previous key head A (handheld transmitter) is fitted on the new key C. (Disassembling and assembling handheld transmitter)
- A new lock barrel with defined locking is installed (the entire previous key can thus be used).
- The previous lock barrel with key is used. Removing and installing lock barrel.