Operation CHARM: Car repair manuals for everyone.
Manuals through 2025 now available!

Our trusted friends have launched a new website named LEMON, which has newer manuals. It also contains all the CHARM manuals.

LEMON is the spiritual successor to CHARM, I recommend you try it!

Link: lemon-manuals.la or lemon-manuals.org.ua

(Some people have issue connecting. LEMON is investigating. For now, use Firefox or change your DNS server)

Or, hide this message: temporarily or permanently

Back Window Glass: Service and Repair



Removing And Installing Rear Window (hardtop)

Tools













Removing rear window

INFORMATION:
- To avoid damaging the electric cable when cutting out the rear window, affix the cable to the rear window with adhesive tape.
- If the cover section is removed undamaged, it can be re-used.
- When cutting out the rear window, take care not to damage the rivet connections that are connecting the hardtop body parts.
- When cutting out the rear window, make sure to cut close to the rear window.

WARNING: Danger of cut injuries when removing and installing car windows.
- Always wear protective gloves when working on car windows.
- Wear protective goggles when cutting out car windows.
- Only replace the cutting knife with the power supply disconnected, in order to avoid the cutter being switched on accidentally.


- Cutting out glued car windows may lead to cut injuries to the skin and the eyes due to flying glass splinters and may cause cut injuries due to the knife of the cutter.

1. Removing hardtop
1.1. Unlock hardtop and take it off the car.

2. Positioning the hardtop
2.1. Place outer side of the hardtop on the assembly fixture.

3. Unclipping interior trim parts







3.1. Unclip interior trim parts -1- at the side, front and rear from the hardtop body -2-.

4. Disengaging roof liner at rear







4.1. Pull roof liner -3- backwards and detach it.

5. Disconnecting the plug connection of the rear window heater







5.1. Disconnect electrical plug connection -4- at left and right of rear window.

6. Turning hardtop







6.1. Place hardtop on the assembly fixture and lock with the latching levers and the locking lever at front.

7. Pulling off cover section







7.1. Undo and remove the cover section -5-.

8. Removing rear window







8.1. Fit a U-type cutting knife -E- to the cutter -C-. Set the vibration frequency controller to 5. Cut through the bond between the body and the rear window at the top, bottom and sides.

9. Taking off rear window

Preparing the window section for installation

INFORMATION:
- The surface coating of adhesive residue helps new adhesive to stick. Keep cut surfaces clean and free of grease and do not clean with cleaning solution.
- Remove remaining adhesive between the rivet connections as much as possible without damaging the rivet connections.
- A ventilation period of at least 10 minutes must be observed between the cleaning of the glass section and the application of the primer.
- No cleaning solution residues may remain on the body.

1. Removing adhesive on the hardtop body







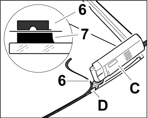
1.1. When removing remaining adhesive -6- with the cutter -C- and the flashing knife -D- on the hardtop body, ensure that a surface coating of adhesive remains -7-.

2. Cleaning and priming paint damage or newly built-up paint areas in the window aperture of the hardtop body







2.1. Clean new paint areas or damage to the top coat paint in the non-visible area of the glass section in the hardtop body with cleaning solution -H1- and patch with primer -H2-.

Preparing the rear window for installation

INFORMATION:
- The remaining adhesive helps new adhesive to stick. Keep cut surfaces clean and free of grease and do not clean with cleaning solution.
- Only with new rear windows.
- A ventilation period of at least 10 minutes must be observed between the cleaning of the glass and the application of the primer. No cleaning solution residues may remain on the body.
- Only if the rear window is re-installed.

1. Removing adhesive from the rear window







1.1. Equip cutter -C- with the flashing knife -D- and remove remaining adhesive from the rear window, ensuring that a surface coating of adhesive remains.

INFORMATION: Only if the rear window is re-installed.

2. Applying activator to the bonding section of the rear window







2.1. During long idle periods apply activator -H3- to the remaining adhesive.
2.2. Clean glass with cleaning solution -H1-.
2.3. Apply primer -H2- to the glass flange in the area of the marking.

Installing rear window

INFORMATION:
- If the cover section is removed from the rear window undamaged, it can be re-used.
- The bonding material has an open time of -15 min-, which means that the bonding material must be applied and the car window must be assembled within this period of time.
- In order to ensure that the substance is completely mixed, apply a 30 mm long adhesive bead of fresh adhesive to a piece of cardboard before processing.







INFORMATION: When applying the adhesive, it is essential to ensure that the adhesive bead overlaps by approx. 30 mm at the beginning and at the end.

CAUTION: Danger of material damage if specified curing time of adhesive is not observed. In order to ensure that the bonded joint is sufficiently strong, the following boundary conditions must be adhered to:
- The vehicle must not be used until the curing time has elapsed.
- Curing time: 3 hours
- Temperature: at least 10 degrees C
- Fixing time: approx. 1 hour


INFORMATION: The removed rear window can be reinstalled if there was no prior damage to the rear window and the rear window was removed without damage.

1. Fitting cover section







1.1. Attach cover section -8- to the rear window.

2. Preparing 2-component bonding material for processing
2.1. Refer to Processing of Porsche 2-component window bonding agents.

3. Applying adhesive to the rear window







3.1. Apply 2-component bonding material with the adhesive gun -A- to the rear window along the cover section as a triangular bead measuring -X = approx. 15 mm-.

INFORMATION: Two persons are needed to insert and adjust the rear window.

4. Inserting rear window into the hardtop body







4.1. Attach suction cups -B- to the rear window.
4.2. Insert the rear window at the top of the window aperture and lay it down carefully into the aperture.

5. Fixing rear window







5.1. Press the rear window fully upwards, pressing on the lower edge of the glass while doing so. Use adhesive tape to prevent the rear window from slipping at the side and the top.

6. Cleaning fields of vision
6.1. Adhesive which has oozed out must be removed immediately and the affected fields of vision must be cleaned using cleaning agent -H1-.

7. Turning hardtop
7.1. Place outer side of the hardtop on the assembly fixture.

8. Plugging in rear window heater







8.1. Connect electrical plug connection -4- at left and right of rear window.

9. Engaging roof liner to the rear







9.1. Engaging roof liner -3- at rear

10. Clipping in interior trim parts







10.1. Clip in interior trim parts -1- at the side, front and rear on the hardtop body -2-.

11. Installing hardtop
11.1. Place hardtop on the car and lock it.

Overview of tools and materials

The following tools and materials are required for removal and installation of the rear window with 2-component adhesive: