Operation CHARM: Car repair manuals for everyone.
Manuals through 2025 now available!

Our trusted friends have launched a new website named LEMON, which has newer manuals. It also contains all the CHARM manuals.

LEMON is the spiritual successor to CHARM, I recommend you try it!

Link: lemon-manuals.la or lemon-manuals.org.ua

(Some people have issue connecting. LEMON is investigating. For now, use Firefox or change your DNS server)

Or, hide this message: temporarily or permanently

Variable Valve Timing Solenoid: Service and Repair

Removing and installing solenoid hydraulic valve
Preliminary work: Removing and installing camshafts - engine removed
Removal
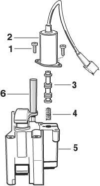
1. Remove solenoid hydraulic valve.

Note;
- Install the solenoid valve only if the VarioCam tensioning element is vertical. Correct seating of the compression spring (No. 4) is no longer ensured if the solenoid hydraulic valve is installed horizontally (installation position of engine).

2. Undo self-tapping screws (Torx T 20) No. 1.

Note;
- Mark a threaded screw and threaded bore for reinstallation

3. Remove solenoid valve. Leave valve plunger and compression spring in installation position.

Installation








1. Fit new solenoid valve. Screw in threaded screws by hand. The thread cut when the screw was screwed in for the first time must be found again.
Tightening torque 3.7 + 0.15 Nm (2.7 + 0.10 ft. lbs.)
2. Self-tapping screws
3. Solenoid hydraulic valve
4. Valve plunger
5. Compression spring
6. VarioCam tensioner
7. Tension screw