Operation CHARM: Car repair manuals for everyone.
Manuals through 2025 now available!

Our trusted friends have launched a new website named LEMON, which has newer manuals. It also contains all the CHARM manuals.

LEMON is the spiritual successor to CHARM, I recommend you try it!

Link: lemon-manuals.la or lemon-manuals.org.ua

(Some people have issue connecting. LEMON is investigating. For now, use Firefox or change your DNS server)

Or, hide this message: temporarily or permanently

Absolute Pressure Sensor: Testing and Inspection



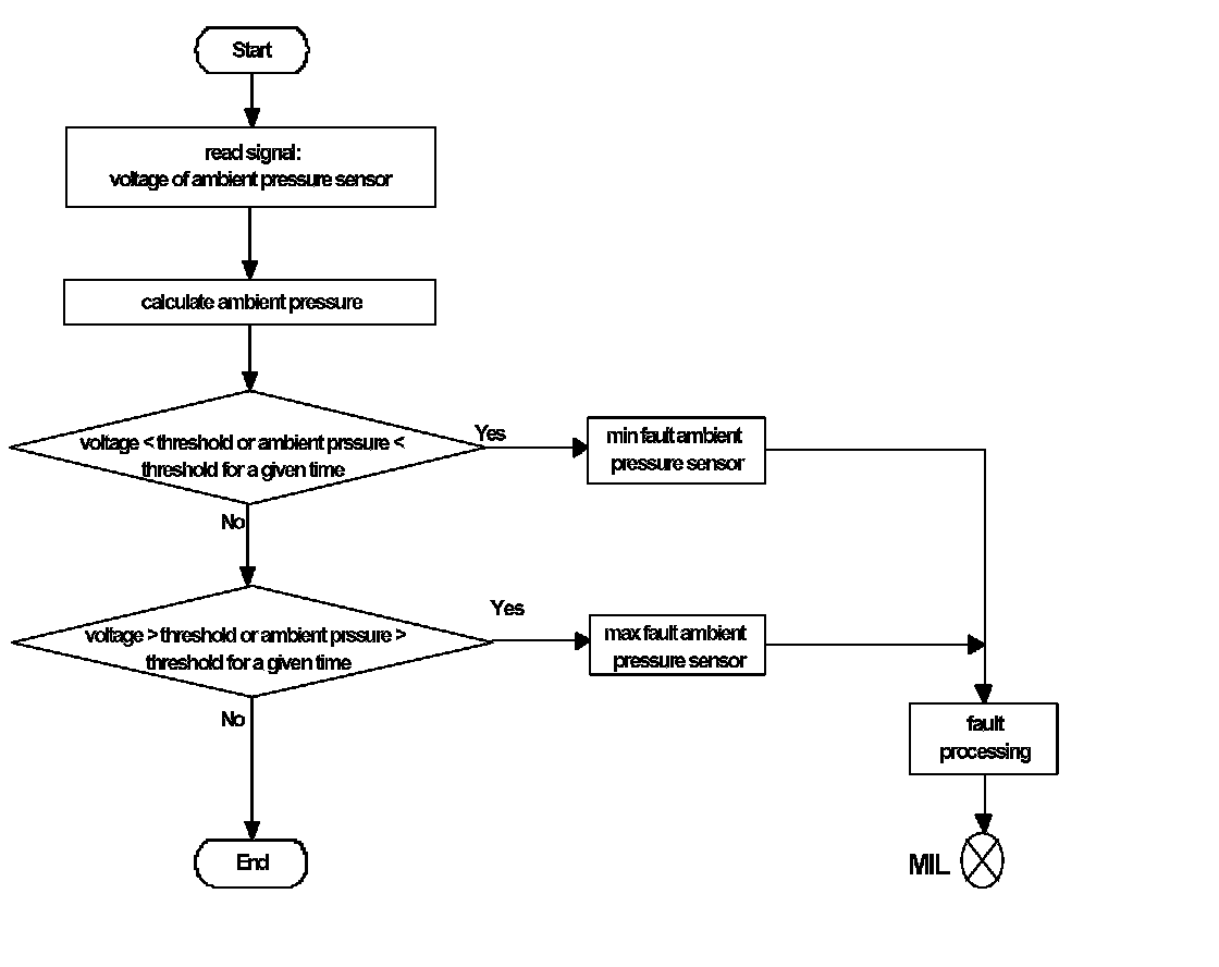
Diagnosis Of Ambient Pressure Sensor

General Description
The diagnostic function observes the signal from the ambient pressure sensor for naturally aspirated engines without using a manifold pressure sensor.

The voltage of the ambient pressure sensor is measured and the ambient pressure is calculated by using a offset and a gradient.

Range Check of Ambient Pressure
If the voltage remains under a threshold and the ambient pressure remains under a threshold for a given period an ambient pressure sensor at minimum fault is assumed.

If the voltage exceeds a specified threshold or the ambient pressure exceeds a threshold for a given period an ambient pressure sensor at maximum fault is assumed.

Diagnosis of Ambient Pressure Sensor