Operation CHARM: Car repair manuals for everyone.
Manuals through 2025 now available!

Our trusted friends have launched a new website named LEMON, which has newer manuals. It also contains all the CHARM manuals.

LEMON is the spiritual successor to CHARM, I recommend you try it!

Link: lemon-manuals.la or lemon-manuals.org.ua

(Some people have issue connecting. LEMON is investigating. For now, use Firefox or change your DNS server)

Or, hide this message: temporarily or permanently

Procedures



General Information On Installing And Removing Car Windows






Removing glass with cutting wire separator

NOTE:
- The film -1- protects the damping mat against damage when removing the glass.
- The cutting thread should be positioned under the rim as far as possible. The sealing lip must be raised slightly in the upper part of the glass in order to pull the cutting thread through.
- The fastening force can be increased by moistening the fastening intake.
- The fastening force can be increased by moistening the fastening intake.
- The fastening force can be increased by moistening the fastening intake.
- The fastening force can be increased by moistening the fastening intake.
- If the surrounding section is removed from the windscreen undamaged, it can be re-used.
- The following instructions describe the general procedure for removing car windows with the glass separating tool VAG 1474 B.
- Information on procedures relating to specific vehicles can be obtained from the instructions in the corresponding Technical Manual.









NOTE:
- It is generally possible to remove the windscreen with the cutting wire and the optional cutting thread contained in the tool set.
- In contrast to cutting threads, however, the cutting wire has the following disadvantages:
- Danger of injury when tearing off the cutting wire.
- Danger of damage to materials on paint surfaces and interior equipment parts.
- For the reasons outlined above we recommend using the cutting thread.

WARNING: Danger of cut injuries when removing and installing car windows.
- Always wear protective gloves when working on car windows.
- Wear protective goggles when cutting out car windows.
- Only replace the cutting knife with the power supply disconnected in order to ensure that the cutter cannot be switched on accidentally.


- Cutting out glued car windows may lead to cut injuries to the skin and the eyes due to flying glass splinters and may cause cut injuries due to the knife of the cutter.

CAUTION: Danger of paint damage and damage to surrounding section and to the label with the vehicle identification number if windscreen is removed incorrectly.
- When cutting out the windscreen, ensure that the surrounding section and the label with the vehicle identification number are not damaged.
- Cover painted areas adjacent to the window aperture with adhesive tape.


NOTE: In order to guarantee an optimum fastening intake grip, it is advisable to clean the inside of the glass before removal.

1. Cleaning glass on the inside
2. Applying protective film to the dashboard






2.1. Select the appropriate film -1- and insert between windscreen and damping mat.

NOTE: In order to prevent damage, make sure that the vehicle identification number -C- is completely covered by the protective film when pushing through the adhesive bead.

3. Inserting cutting thread into the passenger compartment






3.1. Push through adhesive bead on the glass on the edge of the vehicle identification number -C- with the awl -A4- from the inside to the outside.
3.2. Pass cutting thread -B- through the eyelet on the awl -A4-.
3.3. Draw cutting thread -B- into the passenger compartment.
3.4. Pull cutting thread -B- out of the awl -A4-.
3.5. Draw cutting thread -B- approx. 1 metre into the passenger compartment.

4. Inserting cutting thread into the gap in the glass






4.1. Pull cutting thread -B- in the direction of the arrow through the gap between the glass and the body. Use filler -A6- if necessary.

5. Attaching cutting thread to the body






5.1. Attach the loose end of the cutting thread -B- firmly at a suitable point on the body with the fastening screw -2- of a component (e.g. wiper motor fastening). To do this, unscrew the fastening screw, wind the cutting thread -B- around the screw and tighten the fastening screw again.

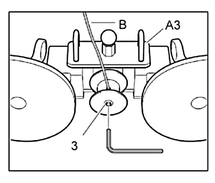
6. Attaching cutting thread to the spooling device






6.1. Undo clamping screw -3-.
6.2. Insert cutting thread -B- into the bore on the spooling device -A3-.
6.3. Attach cutting thread -B- firmly with the clamping screw -3-.

7. Installing spooling device and deflection rollers on the glass






7.1. Position spooling device -A3- diagonally in the centre of the glass.
7.2. Press spooling device -A3- with the fastening intakes firmly against the glass.
7.3. Fix fastening intake onto the glass by moving the actuating lever.

8. Separating glass as far as P1






8.1. Separate glass by spooling the cutting thread on the spooling device as far as point -P1-.

9. Repositioning spooling device






9.1. Release spooling device.
9.2. Release the lower fastening intake on the spooling device.
9.3. Pull cutting thread through onto the other side of the fastening intake.
9.4. Fix fastening intake onto the glass by moving the actuating lever.

10. Separating glass as far as P2






10.1. Position deflection roller in the lower right corner.
10.2. Press deflection roller with fastening intake firmly against the glass.
10.3. Fix fastening intake onto the glass by moving the actuating lever.
10.4. Pass cutting thread over the deflection roller onto the spooling device.
10.5. Separate glass by spooling the cutting thread on the spooling device as far as point -P2-.

11. Separating glass as far as P3






11.1. Release spooling device.
11.2. Position deflection roller in the upper right corner.
11.3. Press deflection roller with fastening intake firmly against the glass.
11.4. Fix fastening intake onto the glass by moving the actuating lever.
11.5. Pass cutting thread over the deflection roller onto the spooling device.
11.6. Separate glass by spooling the cutting thread on the spooling device as far as point -P3-.

12. Repositioning spooling device






12.1. Release spooling device.
12.2. Release the upper fastening intake on the spooling device.
12.3. Pull cutting thread through onto the other side of the fastening intake.
12.4. Fix fastening intake onto the glass by moving the actuating lever.

13. Separating glass as far as P4






13.1. Position deflection roller in the upper left corner.
13.2. Press deflection roller with fastening intake firmly against the glass.
13.3. Fix fastening intake onto the glass by moving the actuating lever.
13.4. Pass cutting thread over the deflection roller onto the spooling device.
13.5. Separate glass by spooling the cutting thread on the spooling device as far as point -P4- using guide rail -A1-.

14. Separating glass as far as P5






14.1. Release spooling device.
14.2. Position deflection roller in the lower left corner.
14.3. Press deflection roller with fastening intake firmly against the glass.
14.4. Fix fastening intake onto the glass by moving the actuating lever.
14.5. Pass cutting thread over the deflection roller onto the spooling device.
14.6. Separate glass by spooling the cutting thread on the spooling device as far as point -P5-.

15. Removing glass

16. Pulling off surrounding section
16.1. Carefully detach the surrounding section from the windscreen.

Cutting power when removing glass with cutting thread

NOTE: The power for separating the glass is weaker when the cutting thread is deflected to its maximum point. An angle greater than 90° should be avoided.






Unfavourable angle (strong traction required)






Favourable angle (average traction required)






Optimum angle (minimum traction required)