Operation CHARM: Car repair manuals for everyone.
Manuals through 2025 now available!

Our trusted friends have launched a new website named LEMON, which has newer manuals. It also contains all the CHARM manuals.

LEMON is the spiritual successor to CHARM, I recommend you try it!

Link: lemon-manuals.la or lemon-manuals.org.ua

(Some people have issue connecting. LEMON is investigating. For now, use Firefox or change your DNS server)

Or, hide this message: temporarily or permanently

Windshield: Service and Repair



Removing And Installing Windscreen












Removing windscreen

NOTE:
- The door windows must not be closed until after the curing time has elapsed.
- The procedure for removing car windows is described in General information on installing and removing car windows.

WARNING: Danger of cut injuries when removing and installing car windows!
- Always wear protective gloves when working on car windows.
- Wear protective goggles when cutting out car windows.
- Only replace the cutting knife with the power supply disconnected in order to ensure that the cutter cannot be switched on accidentally.


- Cutting out glued car windows may lead to cut injuries to the skin and the eyes due to flying glass splinters and may cause cut injuries due to the knife of the cutter.

1. Removing cowl panel cover
1.1. Refer to Removing and installing cowl panel cover

2. Removing inner A-pillar trim
2.1. Refer to Removing and installing trim of A, B and C-pillars

3. Removing interior rearview mirror
3.1. Refer to Removing and installing the interior rearview mirror

4. Opening door windows
4.1. Lower the door windows.

5. Pulling off cover section






5.1. Undo and remove the cover section -1-.

6. Removing defroster covers






6.1. Lift the alarm readiness light -2- and unclip it to the rear. Lift the defroster covers on the left and right -3 and 4- and unclip them. Check fastening clips -5-, replace if necessary.

7. Disconnecting windscreen antenna plug connection






7.1. Release windscreen antenna plug connection -arrows- and pull it off.

8. Removing spacer blocks






8.1. Insert a spatula under the spacer blocks -6- and remove the expanding rivets. Spacer blocks -6- must be replaced.

9. Removing windscreen






9.1. Remove windscreen with the cutting wire separator.

Preparing the window section for installation

NOTE:
- The surface coating of adhesive residue helps new adhesive to stick. Keep cut surfaces clean and free of grease and do not clean with cleaning solution.
- A ventilation period of at least 10 minutes must be observed between the cleaning of the glass section and the application of the primer! No cleaning solution residues may remain on the body.

1. Removing adhesive from the body






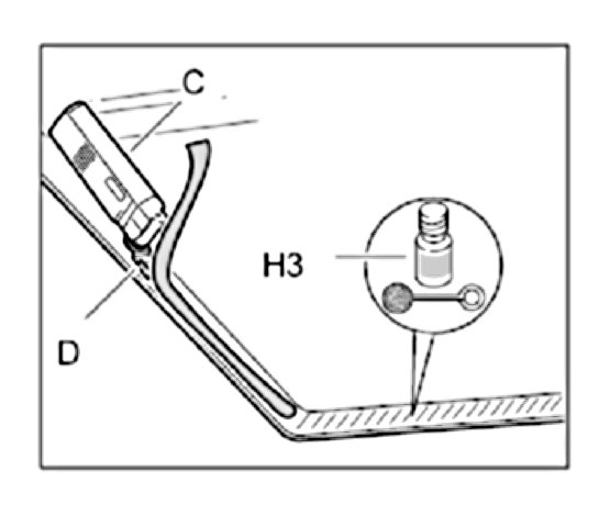
1.1. When removing remaining adhesive -7- with the cutting tool -C- and the flashing knife -D- on the body, ensure that a surface coating of adhesive remains -8-.

2. Cleaning and priming paint damage or newly built-up paint areas in the window aperture of the body






2.1. Clean new paint areas or damage to the top coat paint in the non-visible area of the glass section in the body with cleaning solution -H1- and patch with primer -H2-.

Preparing the windscreen for installation

NOTE:
- The remaining adhesive helps new adhesive to stick. Keep cut surfaces clean and free of grease and do not clean with cleaning solution.
- If the surrounding section and cover section were removed from the rear window undamaged, they can be re-used.
- Only with new windscreens!
- A ventilation period of at least 10 minutes must be observed between the cleaning of the glass and the application of the primer! No cleaning solution residues may remain on the body.
- Only if the windscreen is re-installed!

1. Removing adhesive from the windscreen






1.1. Equip cutting device -C- with the flashing knife -D- and remove the remaining adhesive from the windscreen, ensuring that a surface coating of adhesive remains.

2. Fitting surrounding section and cover section






2.1. Place surrounding section -9- on the windscreen and press cover section -1- into the groove of the surrounding section.

NOTE: Only if the windscreen is new and does not have a preliminary coat!

3. Marking the bonding area






3.1. Before applying the adhesive material, mark the course of the adhesive bead in accordance with the dimensions -E- = 160 mm, -F- = 30 mm on the left and right on the lower edge of the windscreen.

NOTE: Only if the windscreen is re-installed!

4. Activating the bonding section of the windscreen






4.1. During long idle periods apply activator -H3- to the remaining adhesive.
4.2. Clean glass with cleaning solution -H1-.
4.3. Apply primer -H2- to the glass flange in the area of the marking.

Fitting windscreen

NOTE:
- The bonding material has an open time of -15 min-, which means that the bonding material must be applied and the car window must be assembled within this period of time.
- In order to ensure that the substance is completely mixed, apply a 30 mm long adhesive bead of fresh adhesive to a piece of cardboard before processing.






NOTE:
- When applying the adhesive, it is essential to ensure that the adhesive bead overlaps by approx. 30 mm at the beginning and at the end.
- The interior rearview mirror may only be installed after a curing time of three hours!

CAUTION: Danger of material damage if specified curing time of adhesive is not observed! In order to ensure that the bonded joint is sufficiently strong, the following boundary conditions must be adhered to:
- The vehicle must not be used until the curing time has elapsed.
- Curing time: 3 hours
- Temperature: at least 10 degrees C
- Fixing time: approx. 1 hour


NOTE: The removed windscreen can be reinstalled if there was no prior damage to the windscreen and the windscreen was removed without damage.

1. Fitting spacer blocks
1.1. Clip in spacer blocks and press in body-bound rivets.

2. Fitting defroster covers and the alarm readiness light






2.1. Check the fastening clips -5-, replace if necessary. Insert the defroster covers left and right -3 and 4- and clip in under the alarm readiness lug. Clip in alarm readiness light -2-.

3. Preparing 2-component bonding material for processing
3.1. Refer to Processing of Porsche 2-component window bonding agents

4. Applying bonding material to the windscreen






4.1. Apply 2-component bonding material with the adhesive gun -A- to the windscreen along the cover section as a triangular bead measuring -X = approx. 15 mm-.

NOTE: Two persons are needed to insert and adjust the windscreen.

5. Inserting windscreen into the body






5.1. Apply suction cups -B- to the windscreen and insert the windscreen into the window aperture. Press the windscreen up as far as it will go. When doing so, press the lower edge of the glass against the spacer blocks.

6. Cleaning fields of vision
6.1. Adhesive which has oozed out must be removed immediately and the affected fields of vision must be cleaned using cleaning agent -H1-.

7. Attaching windscreen antenna






7.1. Insert the plug of the windscreen antenna into the antenna amplifier.

8. Installing inner A-pillar trim
8.1. Refer to Removing and installing trim of A, B and C-pillars

9. Installing cowl panel cover
9.1. Refer to Removing and installing cowl panel cover

NOTE: Only with new windscreens!

10. Bonding on interior rearview mirror
10.1. Refer to Bonding on the interior rearview mirror

11. Installing interior rearview mirror
11.1. Refer to Removing and installing the interior rearview mirror

NOTE: The door windows must not be closed until after the curing time has elapsed.

12. Closing door windows

Overview of tools and materials

The following tools and materials are required for removing and installing the windscreen with 2-component adhesive: