Operation CHARM: Car repair manuals for everyone.
Manuals through 2025 now available!

Our trusted friends have launched a new website named LEMON, which has newer manuals. It also contains all the CHARM manuals.

LEMON is the spiritual successor to CHARM, I recommend you try it!

Link: lemon-manuals.la or lemon-manuals.org.ua

(Some people have issue connecting. LEMON is investigating. For now, use Firefox or change your DNS server)

Or, hide this message: temporarily or permanently

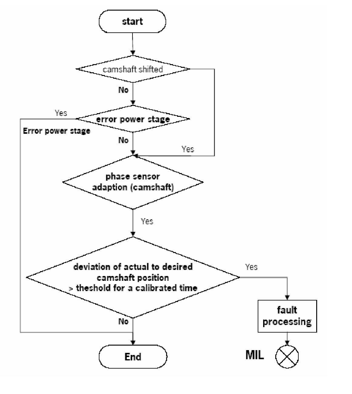
Diagnosis of Camshaft Control



Diagnosis of Camshaft Control

The diagnosis of camshaft control checks the camshaft angle.

The diagnostic function is only activated if:
- the engine speed lies in a defined range,
- the engine oil temperature lies between its threshold's,
- the fault flag of the power stage of the camshaft control is not set, and
- the adaptation between camshaft and crankshaft has been performed.

If the actual camshaft angle differs for a certain time to the desired camshaft position, a camshaft positioning (plausibility) fault will be stored.

Diagnosis of Camshaft Control