Operation CHARM: Car repair manuals for everyone.
Manuals through 2025 now available!

Our trusted friends have launched a new website named LEMON, which has newer manuals. It also contains all the CHARM manuals.

LEMON is the spiritual successor to CHARM, I recommend you try it!

Link: lemon-manuals.la or lemon-manuals.org.ua

(Some people have issue connecting. LEMON is investigating. For now, use Firefox or change your DNS server)

Or, hide this message: temporarily or permanently

Oxygen Sensor Monitoring



Oxygen Sensor Monitoring

General Description
The Lambda control consists of a linear Oxygen sensor (LSU) upstream catalyst and one Oxygen sensor downstream front catalyst and post main catalyst. The control loops downstream catalysts correct deviations of the upstream oxygen sensor (LSU).

All sensors are monitored by several single monitoring procedures under the following basic conditions.

The following checks will be performed on the linear oxygen sensor (LSU) upstream catalyst:

Plausibility Check
Any deviation from the characteristic curve of oxygen sensor upstream catalyst due to poison, ceramic cracks, characteristic shift down (CSD) or a leakage will be detected by the control loop downstream catalyst and by comparison of the sensor signals. The signal comparison during steady state conditions quickly detects major deviations in sensor characteristics caused by serious faults (e.g. ceramic cracks).

The Lambda value of oxygen sensor upstream catalyst is compared to the sensor voltage downstream catalyst. Additionally, a hardware check is performed by checking the sensor voltage range. Three diagnostics paths covers the air fuel ratio range of Lambda value (e.g. Lambda=1, lean, rich). A corresponding reaction of sensor voltage downstream catalyst is expected.

Heater Coupling Check
This monitoring function will detect any short circuits between sensor heater and the Nernst cell of the Oxygen sensor by watching the Lambda signal. The Lambda value variation is checked by the ECM. The heater is operated by a pulsating signal with a frequency of two Herz. The sensor signal characteristic is checked for noises with a significant level and a frequency of the heater operation. If the level of noises is greater than a threshold, a low resistance short-cut between heater and pump current or the current of the Nernst cell is detected.

Dynamic Check
Any change in the dynamic behavior of the Oxygen sensor due to aging, or contamination will be detected by watching the increase of the Lambda value.

Check for Sensor at ambient air (out of exhaust system)
Under the condition of active injection valves and a Lambda value of < 1.6, a voltage significant less than 4.2 V is expected at the self-diagnostic IC of the LSU.

Wire and IC-Check
The hardware of the Oxygen sensor consists of an IC (CJ 125) with the capability of self-diagnostics. The self-diagnostic functions of the IC detects communication faults between ECM and the sensor, insufficient voltage supply, shorts in the sensor lines to ground and to battery. An interruption of the four wires (signal IP, ground VM, reference voltage, compensation IP) can be diagnosed separately.

Electronic defect
The lambda control is disabled only after an error detection and storage. In numerous operating point windows, it is not always possible to detect a defective component immediately but because of the symptoms, the closed loop control is not allowed to operate any longer. Therefore, a general electrical error will be set if the following conditions are valid:
- The ceramic temperature falls below a certain threshold during normal engine operation
- one of the relevant probe signal lines is interrupted
- there is an error at the heating control

The exact source of a fault will be detected afterwards with a special diagnosis and documented through a second fault code storage in the fault memory. There are two possibilities for the second error entry:
- a cable line error
- heating error at the front sensor

The following checks will be performed on the oxygen sensor downstream catalyst:

Oscillation Check

The function checks whether the sensor output voltage of oxygen sensor downstream catalyst always remains above or below a specified threshold.

If the rear closed loop lambda control, which uses the sensor signal of the rear lambda sensor, is active the lambda sensor voltage must cross a threshold at least once within a specified period of time (approximately 65 seconds).

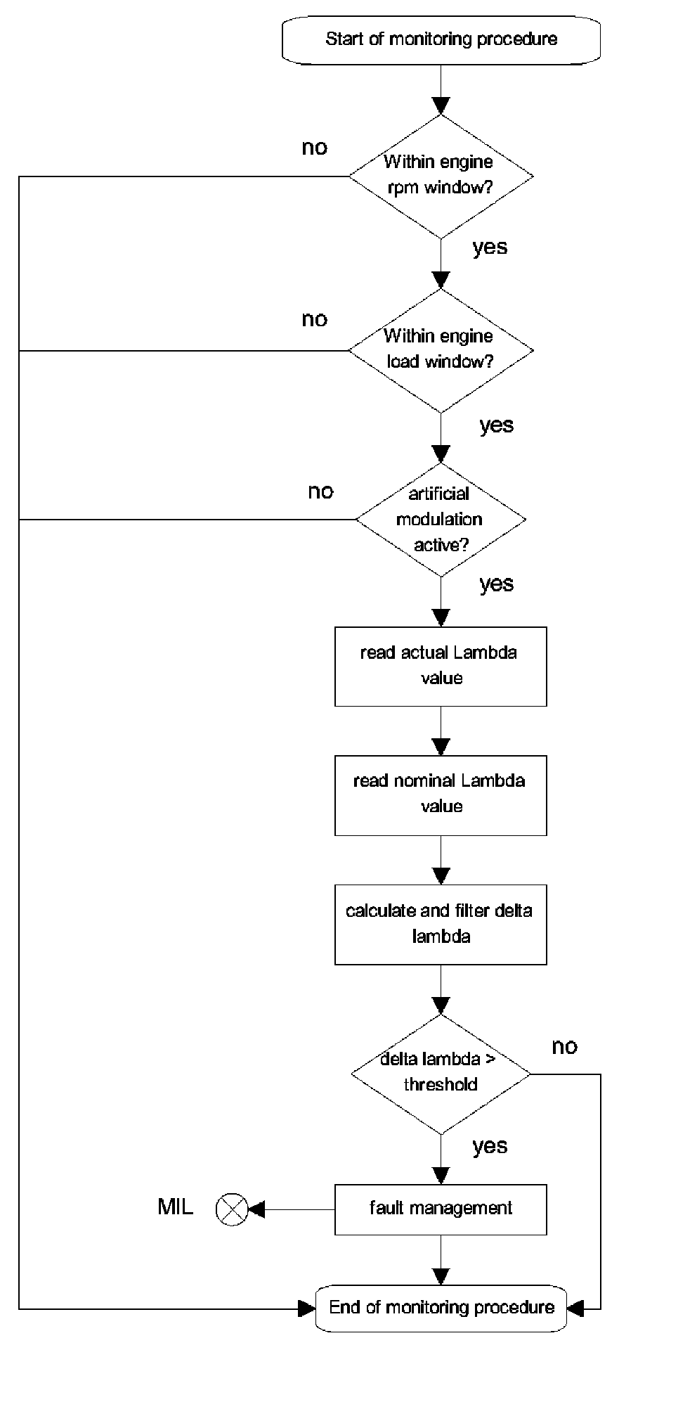
If the sensor voltage remains above or below the threshold, a test function will be started, the system switches to rich or lean operation (Delta Lambda rich = 10%, Delta Lambda lean = 7% ). If the voltage was above the threshold, there will be a lean operation and vice versa. This function is interrupted by fuel cut-off, by very low load conditions, etc. If the sensor voltage reacts appropriately (crossing the threshold in the expected direction), the sensor is o.k. If there is no reaction, the sensor is judged as faulty, an error flag will be set and the rear closed loop control will be switched off.

Fuel cut off Check
During coasting, the ECM is watching the downstream sensor voltage, which has to go under a specific lean threshold. The diagnostic is enabled if coasting was detected for a specific time and the integrated air mass exceeds a specific threshold.

Oxygen Sensor Circuit Monitoring
Monitoring of electrical errors of sensor upstream and downstream catalyst

The diagnostic function is performed if the temperature of the downstream catalyst exceeds the dew-point for more than a given period. This means the sensor heating of the downstream catalyst is turned on for this time with active lambda control, if the exhaust gas temperature of the downstream catalyst is below a certain threshold and the battery voltage exceeds a certain threshold.

If the sensor voltage of the downstream catalyst remains within the plausible voltage range for longer than a given time, a wiring interruption or defective sensor heating element assumed.

If the internal resistance (Ri) of the sensor exceeds a certain threshold while the modeled catalyst temperature is greater than a certain threshold, then a wire interruption of sensor ground is assumed.

If the voltage of the sensor of the downstream catalyst is continuously above the maximum value threshold for longer than a given period, then a short circuit of the sensor signal wire to battery voltage is assumed.

If the sensor voltage of the downstream catalyst lies below the threshold without interruption for longer than a given period with active lambda control, switched off secondary air and secondary air diagnosis, no secondary air system and canister purge system failures, then a wire-to-wire short circuit between sensor signal and ground lead is assumed.

An influence from the sensor heater to the sensor signal will be detected.

Monitoring Structure







Plausibility Monitoring (LSU, Oxygen Sensor Upstream Catalyst)







Heater Coupling Monitoring (LSU, Oxygen Sensor Upstream Catalyst)







Dynamic Monitoring (Oxygen Sensor Upstream Catalyst)







Electronic defect







Oscillation Monitoring (Oxygen Sensor Downstream Catalyst)







Fuel Cut-Off Monitoring (Oxygen Sensor Downstream Catalyst)







Oxygen Sensor Circuit Monitoring







Oxygen Sensor Heater Monitoring
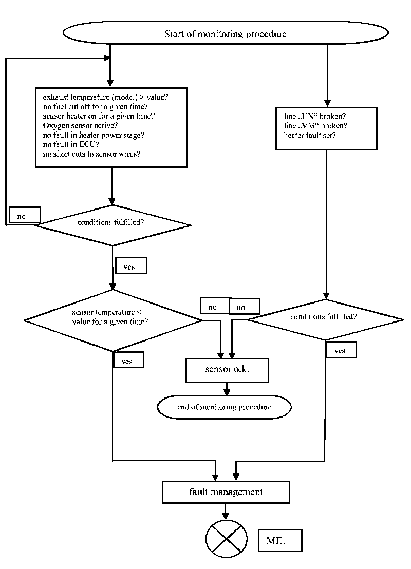
For proper function of the Oxygen sensors, their ceramic elements must be heated. A non-functioning heater delays or prevents either the sensor readiness (LSU) or the proper signal output (LSF1) for closed loop control and thus influences emissions.

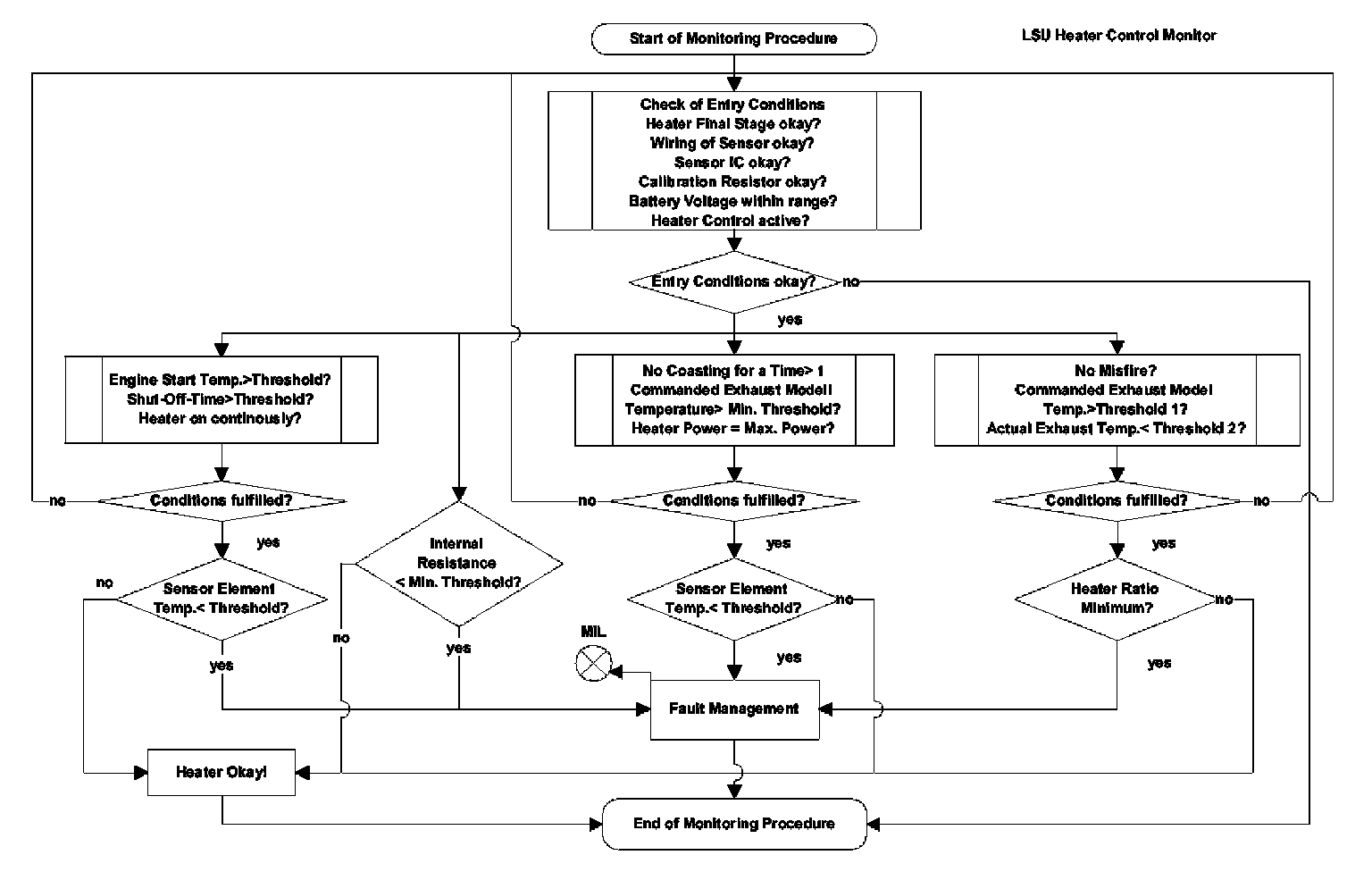
Oxygen sensor upstream catalyst (LSU)
The heater control loop is integrated within the oxygen sensor hardware and has to achieve a target temperature of about 750 �C of the ceramic element.

By monitoring the power stage an electric fault of the heater line (short cut to UB, short cut to ground, broken line) will be detected.

Oxygen sensors downstream catalysts (LSF1)
For diagnostic of the sensor heater a specific current pulse is supplied via a load resistance and the voltage is measured. The intern resistance of the sensor heater is calculated with the voltage deviation. The result will be compared with a reference map resistance, which considers aging and sampling deviations. In case of internal resistance > map resistance the diagnosis stores a fault and the MIL will be illuminated.

By monitoring the power stage an electric fault of the heater line (short cut to UB, short cut to ground, broken line) will be detected.

Monitoring Structure (Oxygen sensor upstream catalyst)










Characteristics:- Switch on of sensor heater is ECM controlled

Monitoring Structure (Oxygen Sensor Downstream Catalyst)










Flow Chart (LSU, Oxygen Sensor Heater Control Upstream Catalyst)







Flow Chart (Oxygen Sensors downstream catalyst)