Operation CHARM: Car repair manuals for everyone.
Manuals through 2025 now available!

Our trusted friends have launched a new website named LEMON, which has newer manuals. It also contains all the CHARM manuals.

LEMON is the spiritual successor to CHARM, I recommend you try it!

Link: lemon-manuals.la or lemon-manuals.org.ua

(Some people have issue connecting. LEMON is investigating. For now, use Firefox or change your DNS server)

Or, hide this message: temporarily or permanently

Transmission Control Systems: Diagrams

Connector assignment

Tiptronic control module plug, '52-pin'












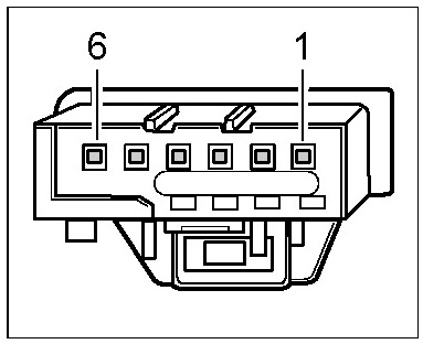
Plug 'A', selector lever switch, '6-pin'






Corresponding socket 'A', selector lever switch, '6-pin'










Socket for solenoids (transmission side) 'A', '14-pin' and sensors (transmission side) 'B', '8-pin'






Connector 'A'






Connector 'B'






Plug 'C', multi-function switch, '10-pin' (existing transmission wiring)






Corresponding socket 'C', multi-function switch, '10-pin' (existing transmission wiring)