Operation CHARM: Car repair manuals for everyone.
Manuals through 2025 now available!

Our trusted friends have launched a new website named LEMON, which has newer manuals. It also contains all the CHARM manuals.

LEMON is the spiritual successor to CHARM, I recommend you try it!

Link: lemon-manuals.la or lemon-manuals.org.ua

(Some people have issue connecting. LEMON is investigating. For now, use Firefox or change your DNS server)

Or, hide this message: temporarily or permanently

518941 Repairing Threaded Bushes For Suspension Subframe installation


WM 518941 Repairing threaded bushes for suspension subframe installation

- Installing threaded bush

Tools










Installing threaded bush

Installing repair threaded bush





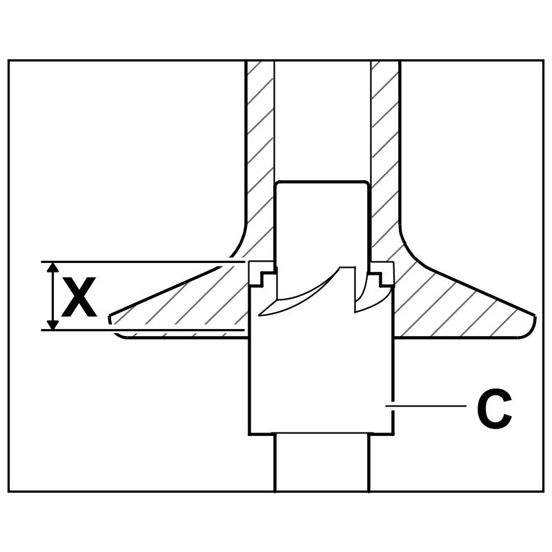
Installation position of threaded bush for suspension subframe mount





NOTICE

Improper thread repairs

- Damaged thread

-> Thread repairs can only be carried out using the Time-Sert thread repair system.

Information

The repair bush must be installed recessed. Milling in may only be performed using the Porsche special tool contained in the Time-Sert thread repair kit.

Information

While pressing in the base thread, a noticeably larger amount of force is required on the screw-in tool to form the internal thread. Pressing is finished when the screw-in tool can be turned further more easily.

1. Drill out thread







Drilling out thread

2. Mill in shoulder







Milling in shoulder

3. Cut thread






Cutting thread

4. Position threaded bush on the screw-in tool.







Positioning threaded bush on screw-in tool

5. Screw in threaded bush






Screwing in threaded bush

6. Press threaded bush






Pressing threaded bush

7. Unscrew screw-in tool


Table classification for suspension subframe repairs